Покрытия лакокрасочные металлорежущего, кузнечно-прессового, литейного и деревообрабатывающего оборудования. Общие требования
Заменяет

Страница 1

Страница 2

Страница 3

Страница 4

Страница 5

Страница 6

Страница 7

Страница 8

Страница 9

Страница 10

Страница 11

Страница 12

Страница 13

Страница 14

Страница 15

Страница 16

Страница 17

Страница 18

Страница 19
ГОСТ 22133-86
МЕЖГОСУДАРСТВЕННЫЙ СТАНДАРТ
ПОКРЫТИЯ ЛАКОКРАСОЧНЫЕ
МЕТАЛЛОРЕЖУЩЕГО,
КУЗНЕЧНО-ПРЕССОВОГО,
ЛИТЕЙНОГО И
ДЕРЕВООБРАБАТЫВАЮЩЕГО
ОБОРУДОВАНИЯ
ОБЩИЕ ТРЕБОВАНИЯ
ИПК ИЗДАТЕЛЬСТВО СТАНДАРТОВ
Москва
МЕЖГОСУДАРСТВЕННЫЙ СТАНДАРТ
|
ПОКРЫТИЯ ЛАКОКРАСОЧНЫЕ МЕТАЛЛОРЕЖУЩЕГО, Общие требования Paint coatings of metal-cutting, press-forging, |
ГОСТ |
Дата введения 01.01.88
Настоящий стандарт распространяется на лакокрасочные покрытия металлорежущего, кузнечно-прессового, литейного и деревообрабатывающего оборудования, в том числе роботизированных технологических комплексов, устанавливает общие требования, цвет, фактуру и классы лакокрасочных покрытий.
1. Металлорежущее, кузнечно-прессовое, литейное и деревообрабатывающее оборудование, в том числе роботизированных технологических комплексов, должно быть окрашено в соответствии с требованиями настоящего стандарта и технических условий на конкретные изделия.
2. Подготовка металлической поверхности перед окрашиванием
2.1. Методы подготовки и качество поверхности оборудования перед окрашиванием должны соответствовать ГОСТ 9.402 и табл. 1 настоящего стандарта.
Таблица 1
|
Показатели состояния |
Требуемое состояние поверхности |
Применяемые методы |
||||||
|
Класс покрытия по ГОСТ 9.032 |
||||||||
|
III |
IV |
V |
VII |
|||||
|
1. Дефекты отливок, ухудшающие внешний вид станка или машины (приливы, утолщения, вмятины, ужимины, складки, раковины, трещины, спаи) |
Не допускаются |
Не нормируется |
Визуальное сравнение с эталоном |
|||||
|
2. Высота, глубина отдельных неровностей поверхности отливок |
По ГОСТ 9.032 |
|||||||
|
3. Волнистость (отклонения от плоскостности) поверхностей отливок |
По ГОСТ 9.032 |
Измерение поверочной линейкой длиной 500 мм и щупами |
||||||
|
4. Шероховатость поверхности по ГОСТ 2789, Ra, мкм, не более |
Не нормируется |
Измерение профилометрами-профилографами, оптическими приборами и сравнением с образцами шероховатости |
||||||
|
а) не подвергаемой шпатлеванию |
16 |
25 |
50 |
|||||
|
б) подвергаемой шпатлеванию: |
Не нормируется |
|||||||
|
при обработке в галтовочных |
50 |
50 |
||||||
|
барабанах, массой до 500 кг |
||||||||
|
при обработке дробью отливок массой, кг: |
||||||||
|
до 1000 |
50 |
50 |
||||||
|
св.1000 до 10000 |
100 |
100 |
||||||
|
св. 10000 |
200 |
200 |
||||||
|
(базовая длина измерений при 200 мкм — 25 мм, при остальных значениях — 8 мм) |
||||||||
|
5. Качество поверхности листового и полосового материала |
По ГОСТ 14637, ГОСТ 19281, ГОСТ 1577, ГОСТ 16523, ГОСТ 21631 |
Визуальный осмотр |
||||||
|
6. Забоины, вмятины, неровности, обрезанные острые кромки, острые углы в местах перехода от одного сечения к другому на деталях проката, ухудшающие внешний вид изделия или затрудняющие его малярную обработку |
Должны отсутствовать |
Допускаются отдельные дефекты |
Не нормируется |
|||||
|
7. Форма сечения сварного шва и его наружные дефекты |
По ГОСТ 5264 и ГОСТ 3242 |
|||||||
2.2. Очистка поверхностей литых деталей должна производиться преимущественно дробеметно-дробеструйным способом.
Допускается производить очистку механизированным или ручным инструментом при условии соблюдения установленной ГОСТ 9.402 степени очистки поверхности.
2.3. При выборе средств для обезжиривания поверхностей следует отдавать предпочтение негорючим водным составам и эмульсиям.
Для обезжиривания крупногабаритных изделий сложной конфигурации, а также сборочных единиц, с поверхностей которых трудно удалить остатки водных обезжиривающих составов, должны применяться органические растворители (уайт-спирит, нефрас 150 — 200 и др.).
3. Окрашивание изделий следует производить в специальных помещениях при температуре воздуха не менее 15 °С и относительной влажности не более 80 %.
4. Требования к покрытиям
4.1. При выборе систем лакокрасочных покрытий должны учитываться условия эксплуатации оборудования, требования к внешнему виду покрытий, материал и технология изготовления окрашиваемых изделий.
4.2. Покрытия оборудования должны быть устойчивы к климатическим факторам и другим видам воздействия (попадание на окрашенные поверхности стружки, смазочно-охлаждающих жидкостей, рабочих жидкостей для электроэрозионных и электрохимических станков и др.), определяющим условия эксплуатации. Выбор эмалей для окрашивания изделий в зависимости от условий эксплуатации покрытий должен проводиться в соответствии с приложением 1.
4.3. Виды климатического исполнения покрытий оборудования — по ГОСТ 9.104 и табл. 2 настоящего стандарта.
Таблица 2
|
Группа изделий |
Категория |
Вид климатического исполнения изделий |
||
|
для условий |
для условий |
для условий |
||
|
1. Оборудование металлорежущее, кузнечно-прессовое, литейное и деревообрабатывающее, за исключением указанного в п. 2 |
4 |
УХЛ4 |
тз, оз |
|
|
2. Отдельные виды кузнечно-прессового и деревообрабатывающего оборудования |
2 |
У2 |
УХЛ2 |
Т2, О2 |
|
1 |
У1 |
УХЛ1, ХЛ1 |
T1, O1 |
|
4.4. Технические требования и методы ускоренных испытаний лакокрасочных покрытий исполнения УХЛ4, У1, У2 должны соответствовать ГОСТ 9.074, покрытий исполнения Т3, Т1 и Т2, покрытий исполнения УХЛ1, УХЛ2, ХЛ1 и ХЛ2 — ГОСТ 9.401.
4.5. Для изделий, предназначенных для районов с сухим тропическим климатом при категории размещения 4, а также изделий, предназначенных для районов с влажным тропическим климатом при категории размещения 4.1, могут применяться те же лакокрасочные покрытия, что и для исполнения УХП при категории размещения 4 и 4.1 соответственно.
4.6. Лакокрасочные материалы и основные технологические параметры процесса окрашивания оборудования (системы покрытий, число и толщина слоев, время сушки) устанавливаются отраслевой нормативно-технической документацией и должны обеспечивать в условиях эксплуатации долговечность покрытий станков и оборудования не менее трех лет, а шлифовальных, электроэрозионньгх и электрохимических станков не менее двух лет*.
______________
* Долговечность покрытий шлифовальных, электроэрозионных и электрохимических станков с 01.01.90 — не менее трех лет.
Срок службы покрытия исчисляется с начала эксплуатации до момента, когда площадь его разрушений достигнет 20 % общей площади окрашиваемой поверхности.
4.7. Лакокрасочные покрытия металлорежущего, кузнечно-прессового, литейного и деревообрабатывающего оборудования по внешнему виду (цвету, фактуре, степени блеска, классу по ГОСТ 9.032) должны соответствовать требованиям п. 9 настоящего стандарта.
5. Ремонтное окрашивание изделий производится в соответствии с отраслевой нормативно-технической документацией.
6. Контроль лакокрасочных материалов, окрасочных операций и покрытий
6.1. Все лакокрасочные материалы, поступающие на предприятия, должны иметь сопроводительную документацию предприятия-изготовителя и подвергаться входному контролю.
Входной контроль осуществляется в соответствии со стандартами и техническими условиями на лакокрасочные материалы или согласно отраслевой нормативно-технической документации.
6.2. В процессе окрашивания оборудования контролируют последовательность и качество промежуточных операций (обезжиривание, фосфатирование, шпатлевание и др.).
6.3. Контролируемые параметры (показатели внешнего вида, адгезия, толщина грунтовочных, шпатлевочных, эмалевых покрытий и др.), последовательность и периодичность контрольных операций устанавливаются отраслевой нормативно-технической документацией, утвержденной в установленном порядке.
6.4. Обязательному контролю должны подвергаться качество подготовки поверхности перед окрашиванием, а также внешний вид лакокрасочных покрытий деталей, узлов и собранных изделий.
Контроль состояния металлических поверхностей перед окрашиванием должен проводиться в соответствии с п. 2.1, контроль внешнего вида — в соответствии с п. 9 настоящего стандарта.
7. Требования безопасности
7.1. Требования безопасности, пожарной безопасности и производственной санитарии должны соответствовать ГОСТ 12.3.005 «Правилам и нормам техники безопасности, пожарной безопасности и производственной санитарии для окрасочных цехов».
7.2. Требования безопасности при подготовке металлической поверхности перед окрашиванием должны соответствовать ГОСТ 9.402.
7.3. Работы с применением лакокрасочных материалов должны проводиться в соответствии с требованиями ГОСТ 12.3.002, ГОСТ 12.3.005 и «Санитарных правил при окрасочных работах с применением ручных распылителей», утвержденных Министерством здравоохранения СССР.
7.4. Метеорологические условия и содержание вредных веществ должны соответствовать нормам, установленным ГОСТ 12.1.005.
7.5. При проведении окрасочных работ рабочее место должно соответствовать требованиям ГОСТ 12.2.061, ГОСТ 12.2.049, ГОСТ 12.2.032 и ГОСТ 12.2.033.
7.6. Требования пожарной безопасности — по ГОСТ 12.1.004.
7.7. Требования электробезопасности — по ГОСТ 12.1.019.
8. При проведении окрасочных работ должна быть обеспечена защита окружающей среды от загрязнений.
9. ТРЕБОВАНИЯ К ВНЕШНЕМУ ВИДУ ЛАКОКРАСОЧНЫХ ПОКРЫТИЙ
9.1. Цвета лакокрасочных покрытий
9.1.1. Цвета лакокрасочных покрытий оборудования разделяются на основные, вспомогательные, сигнальные и отличительные.
9.1.2. Основные цвета лакокрасочных материалов должны соответствовать указанным в табл. 3.
Таблица 3
|
Условный |
Наименование цвета |
Норма цвета в пределах допускаемых отклонений, установленных образцами (эталонами) цвета «Картотеки образцов (эталонов) цвета лакокрасочных материалов |
Образец цвета* |
|
1 |
«Слоновая кость» |
224, 229 |
|
|
2 |
Светло-бежевый |
661, 662 |
|
|
3 |
Коричневый |
619, 622 |
|
|
4 |
Светлый серо-зеленый |
319, 352 |
|
|
5 |
Серо-зеленый |
365, 396 |
|
|
6 |
Сине-зеленый |
397, 398 |
|
|
7 |
«Белая ночь» |
858, 859 |
|
|
8 |
Серый |
840, 841 |
|
|
9 |
Серо -серебристый |
810, 845 |
|
|
10 |
Темно-серый |
822, 847 |
|
__________
* Цветная печать не обеспечивает точного воспроизведения цвета.
Цветовые характеристики основных цветов лакокрасочных покрытий и распределение цветов по группам приведены в приложении 2.
Лакокрасочные покрытия основных цветов предназначаются для наружных поверхностей, определяющих внешний вид оборудования.
9.1.3. Вспомогательные цвета лакокрасочных покрытий должны соответствовать указанным в табл. 4.
Таблица 4
|
Условный номер |
Наименование цвета |
Рекомендуемая норма цвета в пределах допускаемых отклонений, |
|
11 |
Кремовый |
270, 271 |
|
12 |
Оранжевый |
121, 128 |
|
13 |
Серебристый |
Контрольные заводские образцы цвета |
|
14 |
Белый |
То же |
|
15 |
Черный |
» |
Цветовые характеристики вспомогательных цветов, указанных в табл. 4, приведены в приложении 3.
Лакокрасочные покрытия вспомогательных цветов предназначаются:
кремовый — для внутренних поверхностей оборудования, деталей и сборочных единиц (не доступных для обозрения поверхностей станин, гидро- и смазочного оборудования, шкафов и ниш с электрооборудованием и др.), элементов наружных поверхностей роботизированных, технологических комплексов;
оранжевый — для элементов наружных поверхностей роботизированных технологических комплексов;
серебристый — для наружных поверхностей оборудования, подвергающихся нагреву до температуры выше 70 °С;
белый — для внутренних поверхностей шкафов и ниш с электрооборудованием, элементов наружных поверхностей роботизированных технологических комплексов, фоновых поверхностей делительных шкал, поясняющих надписей и т. п.;
черный — для поверхностей деталей машин, соприкасающихся с нагретыми заготовками (шаботы молотов и др.), заземляющих шин, фоновых поверхностей поясняющих надписей, таблиц, шкал и т.п.
9.1.4. Цвета лакокрасочных покрытий, не указанные в табл. 3 и 4, допускается применять: для продукции, предназначенной для экспорта, если цвета определены условиями поставок; при окрашивании оборудования специальными эмалями (химически стойкими, маслостойкими,
термостойкими и др.);
при использовании покупных комплектующих изделий с лакокрасочными покрытиями.
9.1.5. Сигнальные цвета лакокрасочных покрытий должны соответствовать требованиям ГОСТ 12.4.026, ГОСТ 12.2.009 и ГОСТ 12.2.072.
9.1.6. Лакокрасочные покрытия отличительных цветов предназначаются для обозначения содержимого и назначения трубопроводов и сосудов оборудования.
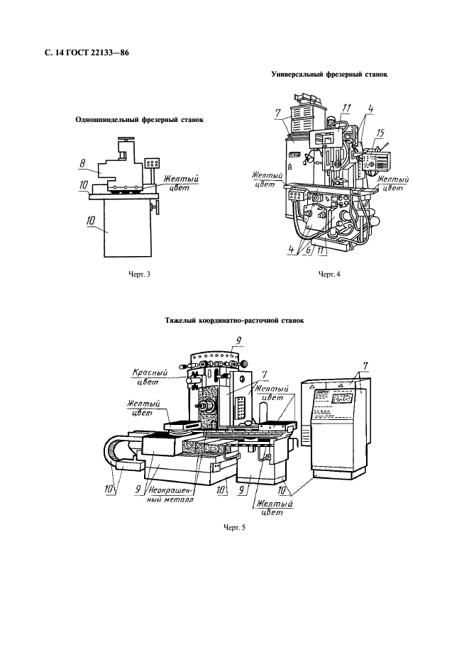
Лакокрасочные покрытия наружных поверхностей трубопроводов оборудования должны быть тех же цветов, что и покрытия поверхностей, по которым они проходят. При технической необходимости содержимое и назначение трубопроводов обозначаются при помощи колец отличительных цветов, указанных в табл. 5.
Таблица 5
|
Содержимое и назначение трубопроводов и сосудов |
Наименование цвета колец и их сочетаний |
|
Вода |
Зеленый |
|
Пар |
Красный |
|
Воздух |
Синий |
|
Жидкости и газы в цепях управления |
Зеленый и цвет, соответствующий содержимому и назначению трубопровода (по одному кольцу каждого цвета) |
|
Масло и жидкости под высоким давлением в трубопроводах гидросистем |
Желтый |
|
Воздушный вакуум |
Желтый (два кольца) |
|
Масло и жидкости в трубопроводах систем смазки и охлаждения |
Коричневый |
|
Масло и жидкости в трубопроводах всасывания и слива: |
|
|
в системе гидравлики |
Черный и желтый (по одному кольцу каждого цвета) |
|
в системе смазки и охлаждения |
Черный и коричневый (по одному кольцу каждого цвета) |
|
Электролит в трубопроводах электрохимических станков |
Желтый и красный (по одному кольцу каждого цвета) |
|
Электропровода под высоким напряжением |
Синий и красный |
Примечание. При недостаточном контрасте между цветом трубопровода и отличительным цветом кольца следует вводить для кольца фон черного или белого цвета.
Кольца отличительных цветов должны находиться на участках ввода и вывода трубопроводов, а также по всей их длине с интервалом не более 1 м. Ширина колец должна быть равна наружному диаметру трубопроводов. Если диаметр трубопровода не превышает 15 мм, ширина кольца может быть больше его диаметра. При наличии двух колец интервал между ними должен составлять половину диаметра трубопровода.
При длине трубопровода не менее двух его диаметров ширина колец отличительных цветов должна быть не менее наружного диаметра трубопровода.
Если трубопроводы вплотную прилегают к поверхности станка или машины, допускается наличие на них только части кольца отличительного цвета.
Лакокрасочные покрытия наружных поверхностей сосудов должны быть тех же цветов, что и покрытия наружных поверхностей оборудования. На сосуды должны наноситься по периметру в средней части по высоте кольца отличительных цветов шириной 0,1 наружного диаметра сосуда.
9.1.7. Выбор цвета лакокрасочных покрытий.
Цветовые решения оборудования должны соответствовать их художественно-конструкторским проектам, о чем должны быть сделаны соответствующие указания на чертежах.
Выбор цветов лакокрасочных покрытий, их возможных сочетаний и примеры цветовых решений оборудования приведены в приложении 4.
9.2 Фактура лакокрасочных покрытий
9.2.1. Лакокрасочные покрытия должны быть гладкими, однотонными.
Для маскировки неровностей поверхностей допускается применять гладкие рисунчатые (молотковые) или рельефные однотонные лакокрасочные материалы.
9.2.2. Рекомендуемые цвета покрытий молотковыми эмалями и двухцветные сочетания их с основными однотонными покрытиями приведены в приложении 5.
9.2.3. По степени блеска лакокрасочные покрытия основных поверхностей станков и машин должны быть глянцевыми, полуглянцевыми или полуматовыми по ГОСТ 9.032.
9.3. Классы лакокрасочных покрытий
9.3.1. Требования к классу покрытия окрашенных поверхностей оборудования приведены в табл. 6.
Таблица 6
|
Окрашенные поверхности |
Класс покрытия по ГОСТ 9.032 |
|
1. Основные поверхности, определяющие внешний вид: |
|
|
а) станков, машин и промышленных роботов обычного исполнения |
IV |
|
б) станков классов точности В, А и С по ГОСТ 8, изделий высшей категории качества, изделий для экспортных поставок |
III |
|
2. Поверхности, доступные для обозрения, но не определяющие внешний вид: |
|
|
а) станков, машин и промышленных роботов обычного исполнения |
V |
|
б) станков классов точности В, А и С по ГОСТ 8, изделий высшей категории качества, изделий для экспортных поставок |
IV |
|
3. Поверхности электрошкафов: |
|
|
а) наружные |
См. п. 1 настоящей таблицы |
|
б) внутренние |
VI |
|
4. Поверхности внутри станков, машин, промышленных роботов (не доступные для обозрения поверхности станков, машин, гидро- и смазочного оборудования и др.) |
VII |
9.3.2. Допускается снижение качества исполнения лакокрасочных покрытий на один класс по ГОСТ 9.032 для тяжелых станков и прессов весом 30 т и более, а также литейного оборудования, предназначенного для эксплуатации в условиях интенсивного воздействия абразива.
ПРИЛОЖЕНИЕ 1
Рекомендуемое
ПЕРЕЧЕНЬ ПРИМЕНЯЕМЫХ ЭМАЛЕЙ
|
Марка эмали |
Обозначение условий эксплуатации |
Окрашиваемые поверхности; условия |
|
НЦ-256 по ГОСТ 25515 НЦ-2127 НЦ-132 по ГОСТ 6631 |
У2, УХЛ4, ТЗ, О4 УХЛ4, ТЗ, О4 У2, УХЛ4, 6 |
Наружные поверхности станков и оборудования при периодическом воздействии минеральных масел Внутренние поверхности станков и оборудования при постоянном воздействии минеральных масел |
|
ГФ-2136 ГФ-2136 МЭ |
У2, УХЛ4, Т3, О4 У2, УХЛ4, ТЗ, О4 |
Наружные поверхности металлорежущих станков при незначительном воздействии на отдельные поверхности щелочных сож |
|
ХВ-238 |
7/3 |
Наружные и внутренние поверхности станков (шлифовальных) и оборудования, подвергаемые периодическому воздействию щелочных СОЖ, раствора триэтаноламинов и др. |
|
НЦ-132 по ГОСТ 6631 ПФ-115 по ГОСТ 6465 ПФ-188 по ГОСТ 24784 ХВ-124 по ГОСТ 10144 ХВ-16 |
У1, У2 УХЛ1, УХЛ2, Т2 УХЛ1, УХЛ2, Т2 УХЛ1, УХЛ2, T1, Т2 УХЛ1, УХЛ2, T1, Т2 |
Поверхности деревообрабатывающего, кузнечно-прессового и литейного оборудования, работающего на открытом воздухе, под навесом |
|
МЛ-12 по ГОСТ 9754 МЛ-165 по ГОСТ 12034 МЛ-165ПМ по ГОСТ 12034 МЛ-152 по ГОСТ 18099 |
Все условия эксплуатации по ГОСТ 9.104 |
Отдельные поверхности станков и оборудования, подвергаемые периодическому воздействию стружки, абразива и минеральных масел |
|
ЭП-140 по ГОСТ 24709 ЭП-773 по ГОСТ 23143 |
7, 7/3 7, 7/3, 4/1 |
Наружные и внутренние поверхности электроэрозионных, электрохимических и других станков, подвергаемые длительному воздействию щелочных эмульсий, электролитов и раствора триэтаноламинов |
|
ВЛ-515 ФЛ-03К по ГОСТ 9109 ГФ-021 по ГОСТ 25129 ГФ-0119 по ГОСТ 23343 ГФ-0163 |
6/1 6/1 6/1 6/1 6/1 |
Внутренние поверхности резервуаров, подвергаемые постоянному воздействию минеральных масел |
|
ВЛ-515 |
4 |
Внутренние поверхности гидрорезервуаров |
|
ПФ-170 по ГОСТ 15907с алюминиевой пудрой КО-814 по ГОСТ 11066 КО-813 |
8300 зс 8300-°С 8300-°С |
Отдельные поверхности оборудования, эксплуатируемого при повышенных температурах |
(Измененная редакция, Изм. № 1).
ПРИЛОЖЕНИЕ 2
Рекомендуемое
ЦВЕТОВЫЕ ХАРАКТЕРИСТИКИ ОСНОВНЫХ ЦВЕТОВ ЛАКОКРАСОЧНЫХ
ПОКРЫТИЙ И РАСПРЕДЕЛЕНИЕ ЦВЕТОВ ПО ГРУППАМ
Таблица 7
Цветовые характеристики основных цветов лакокрасочных покрытий
|
Условный |
Наименование цвета |
Номер образца (эталона) |
Координаты цветности* |
Коэффициент отражения, % |
|
|
х |
у |
||||
|
1 |
«Слоновая кость» |
224 |
0,335 |
0,350 |
56,8 ± 1,0 |
|
2 |
Светло-бежевый |
661 |
0,352 |
0,351 |
34,2 ± 0,5 |
|
3 |
Коричневый |
619 |
0,357 |
0,339 |
10,0 ± 0,3 |
|
4 |
Светлый серо-зеленый |
319 |
0,311 |
0,339 |
52,4 ± 0,7 |
|
5 |
Серо-зеленый |
365 |
0,300 |
0,333 |
27,5 ± 0,7 |
|
6 |
Сине-зеленый |
397 |
0,269 |
0,300 |
12,4 ± 0,3 |
|
7 |
«Белая ночь» |
858 |
0,319 |
0,333 |
48,8 ± 0,9 |
|
8 |
Серый |
840 |
0,317 |
0,324 |
28,8 ± 0,5 |
|
9 |
Серо -серебристый |
810 |
0,302 |
0,318 |
29,7 ± 0,5 |
|
10 |
Темно-серый |
832 |
0,292 |
0,305 |
15,3 ± 0,3 |
____________
* Здесь и в приложении 3 приводятся цветовые характеристики глянцевой накраски первого из образцов (эталонов) цвета «Картотеки образцов (эталонов) цвета лакокрасочных материалов» или контрольных заводских образцов цвета, нормирующих цвет лакокрасочного покрытия. Цветовые характеристики определены в системе XY (ГОСТ 13088) при источнике света С (ГОСТ 7721) с учетом зеркальной составляющей коэффициента отражения на приборе «Радуга 2».
Таблица 8
Распределение цветов по группам
|
Характеристика цвета по светлоте |
Условный номер цвета |
|||
|
Группа охристых |
Группа зеленоватых |
Группа ахроматических |
||
|
с теплым оттенком |
с холодным оттенком |
|||
|
Светлый |
1 |
4 |
7 |
— |
|
Средний |
2 |
5 |
8 |
9 |
|
Темный |
3 |
6 |
— |
10 |
ПРИЛОЖЕНИЕ 3
Рекомендуемое
ЦВЕТОВЫЕ ХАРАКТЕРИСТИКИ ВСПОМОГАТЕЛЬНЫХ ЦВЕТОВ ЛАКОКРАСОЧНЫХ ПОКРЫТИЙ
|
Условный номер цвета |
Наименование цвета |
Номер образцов (эталона) |
Координаты цветности |
||
|
х |
у |
Коэффициент отражения, % |
|||
|
11 |
Кремовый |
270 |
0,374 |
0,376 |
61,5 ± 1 |
|
12 |
Оранжевый |
121 |
0,506 |
0,385 |
29,5 ± 0,5 |
|
13 |
Серебристый |
Контрольный заводской образец цвета |
— |
— |
Не менее 55 |
|
14 |
Белый |
То же |
— |
— |
Не менее 75 |
|
15 |
Черный |
» |
— |
— |
Не более 7 |
ПРИЛОЖЕНИЕ 4
Рекомендуемое
ВЫБОР ЦВЕТОВ ЛАКОКРАСОЧНЫХ ПОКРЫТИЙ, ИХ ВОЗМОЖНЫХ
СОЧЕТАНИЙ И ПРИМЕРЫ ЦВЕТОВЫХ РЕШЕНИЙ ОБОРУДОВАНИЯ
Оптимальные цветовые решения оборудования должны реализовывать как функциональные, так и эстетические задачи цвета при эксплуатации.
Выбор конкретных цветов лакокрасочных покрытий из числа стандартизуемых и разработку схем цветовых решений оборудования следует осуществлять исходя из необходимости достижения:
соответствия цвета покрытия функциональному назначению и условиям эксплуатации оборудования, техническим особенностям процессов производства;
оптимальных условий для зрительного восприятия работающих на данном оборудовании;
наименьшей утомляемости и связанных с этим вредных психологических и физиологических последствий на организм работающего;
соответствия цвета объемно-пространственной структуре, тектонике, габаритам, пластике внешней формы оборудования;
эстетической выразительности и гармоничных цветовых отношений поверхностей оборудования (в том числе гармоничности с цветовым решением предполагаемой окружающей среды);
соответствия цвета отдельных элементов оборудования, знаков, коммуникаций требованиям безопасности труда и информативности.
Каждый тип оборудования требует индивидуального художественно-конструкторского решения. Приемы цветового решения могут быть разнообразными, но все они должны учитывать вышеуказанные факторы.
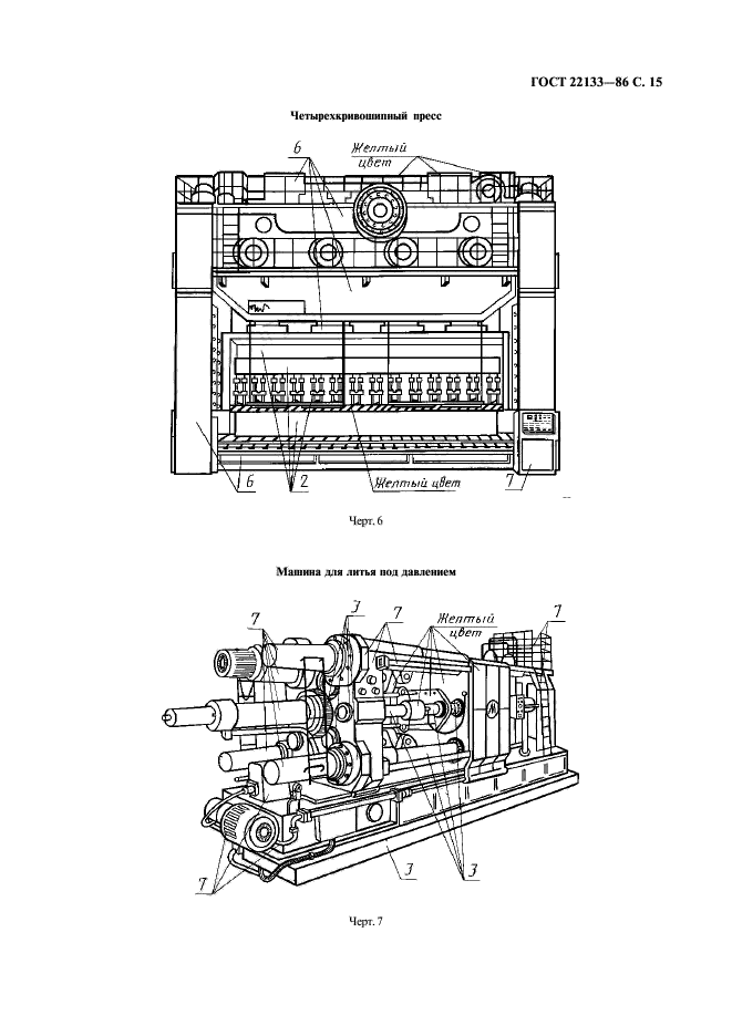
Психофизиологическое воздействие сигнальных цветов следует использовать с целью привлечения внимания к опасности, выделяя лакокрасочными покрытиями сигнальных цветов элементы станков, машин, промышленных роботов, и оградительные устройства, не полностью укрывающие опасную зону, отдельные элементы подвижных частей электрооборудования, кромки штампов, перила площадок высоких машин и т. д. согласно ГОСТ 12.4.026. Для захватных устройств промышленных роботов и другого оборудования, предъявляющих наибольшую опасность для работающих, необходимо использовать лакокрасочное покрытие красного сигнального цвета.
Эффективным средством достижения благоприятных условий зрительной работы является правильный подбор цвета поверхностей, образующих фон для объектов различения (обрабатываемой детали, режущего инструмента). Используемые в качестве фона поверхности корпуса оборудования или специальные защитные устройства (экраны) должны иметь цвета лакокрасочных покрытий, контрастные к цветам обрабатываемых деталей по цветовому тону и наиболее близкие по коэффициентам отражения. Так при теплом цвете обрабатываемых деталей фоновая поверхность должна иметь покрытие холодного цвета; при холодном цвете деталей фон должен быть приглушенного теплого цвета; при ярком цвете деталей наилучшим является серый фон.
Рекомендуемые цвета фона для некоторых объектов обработки (в случаях, когда окрашенная поверхность служит фоном для обрабатываемой детали) даны в табл. 9.
Таблица 9
|
Обрабатываемый материал |
Цвет фона |
|||
|
Условный номер |
Наименование цвета |
|||
|
Сталь, чугун |
1 2 4 5 7 11 |
«Слоновая кость» Светло-бежевый Светлый серо-зеленый Серо-зеленый «Белая ночь» Кремовый |
||
|
Алюминий, олово и другие легкие металлы |
1 4 5 8 9 11 |
«Слоновая кость» Светлый серо-зеленый Серо-зеленый Серый Серо-серебристый Кремовый |
||
|
Латунь, бронза, медь, светлое дерево |
4 5 7 9 |
Светло-зеленый Серо-зеленый «Белая ночь» Серо-серебристый |
||
|
Загрунтованные отливки, текстолит, темное дерево и другие материалы |
1 4 5 7 8 |
«Слоновая кость» Светлый серо-зеленый Серо-зеленый «Белая ночь» Серо -серебристый |
||
Соответствия цветового решения оборудования композиционному и функциональному решению его формы, усиления композиционной связи основных элементов оборудования следует добиваться, используя различные психофизиологические свойства каждого нормируемого цвета и значения яркостного контраста между цветами (табл. 10).
Таблица 10
|
Условный номер |










