Система проектной документации для строительства. Правила выполнения рабочей документации тепловой изоляции оборудования и трубопроводов
На нашем сайте можно бесплатно скачать Руководящий документ ГОСТ 21.405-93 в удобном формате. Узнать актуальный статус документа «Система проектной документации для строительства. Правила выполнения рабочей документации тепловой изоляции оборудования и трубопроводов» на 2016 год.
Скрыть дополнительную информацию
Страница 1

Страница 2

Страница 3

Страница 4

Страница 5

Страница 6

Страница 7

Страница 8

Страница 9

Страница 10

Страница 11

Страница 12

Страница 13

Страница 14

Страница 15

Страница 16
ГОСТ 21.405-93
МЕЖГОСУДАРСТВЕННЫЙ СТАНДАРТ
СИСТЕМА ПРОЕКТНОЙ ДОКУМЕНТАЦИИ ДЛЯ СТРОИТЕЛЬСТВА
ПРАВИЛА ВЫПОЛНЕНИЯ РАБОЧЕЙ ДОКУМЕНТАЦИИ ТЕПЛОВОЙ ИЗОЛЯЦИИ ОБОРУДОВАНИЯ И ТРУБОПРОВОДОВ
МЕЖГОСУДАРСТВЕННАЯ НАУЧНО-ТЕХНИЧЕСКАЯ КОМИССИЯ
ПО СТАНДАРТИЗАЦИИ И ТЕХНИЧЕСКОМУ НОРМИРОВАНИЮ
В СТРОИТЕЛЬСТВЕ
Минск
Предисловие
1 РАЗРАБОТАН Научно-исследовательским и проектным институтом «Теплопроект», Государственным проектным, конструкторским и научно-исследовательским институтом «СантехНИИпроект» и Центральным научно-исследовательским и проектно-экспериментальным институтом по методологии, организации, экономике и автоматизации проектирования (ЦНИИпроект)
ВНЕСЕН Госстроем России
2 ПРИНЯТ Межгосударственной научно-технической комиссией по стандартизации и техническому нормированию в строительстве 10 ноября 1993 г.
За принятие стандарта проголосовали:
|
Наименование государства |
Наименование органа государственного управления строительством |
|
Азербайджанская Республика |
Госстрой Азербайджанской Республики |
|
Республика Армения |
Госупрархитектура Республики Армения |
|
Республика Беларусь |
Госстрой Республики Беларусь |
|
Республика Казахстан |
Минстрой Республики Казахстан |
|
Кыргызская Республика |
Госстрой Кыргызской Республики |
|
Российская Федерация |
Госстрой России |
|
Республика Таджикистан |
Госстрой Республики Таджикистан |
|
Украина |
Минстрой архитектуры Украины |
3 ВВЕДЕН в действие с 1 июля 1994 г. в качестве государственного стандарта Российской Федерации Постановлением Госстроя России от 5 апреля 1994 г. № 18-28
4 Введен впервые
5 Переиздание. Май 1995 г.
СОДЕРЖАНИЕ
|
1 |
Область применения |
|
|
2 |
Нормативные ссылки |
|
|
3 |
Общие положения |
|
|
4 |
Общие данные по рабочим чертежам |
|
|
5 |
Чертежи тепловой изоляции |
|
|
6 |
Ведомость техномонтажная |
|
|
7 |
Спецификация оборудования |
|
|
8 |
Эскизные чертежи общих видов нетиповых изделий |
|
|
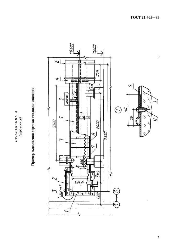
Приложение А |
Пример выполнения чертежа тепловой изоляции |
|
|
Приложение Б |
Ведомость техномонтажная. Форма 1 |
|
|
Приложение В |
Перечень обозначений, применяемых в техномонтажной ведомости при заполнении графы «Назначение и расположение» |
|
|
Приложение Г |
Титульный лист. Форма 2 |
|
ГОСТ 21.405-93
МЕЖГОСУДАРСТВЕННЫЙ СТАНДАРТ
Система проектной документации для строительства
ПРАВИЛА ВЫПОЛНЕНИЯ РАБОЧЕЙ ДОКУМЕНТАЦИИ
ТЕПЛОВОЙ ИЗОЛЯЦИИ ОБОРУДОВАНИЯ И ТРУБОПРОВОДОВ
System of building design documents. Rules of carrying out of working documents
of heat insulation of equipment and pipelines
Дата введения 1994-07-01
1 ОБЛАСТЬ ПРИМЕНЕНИЯ
Настоящий стандарт устанавливает состав и правила оформления рабочей документации тепловой изоляции наружной поверхности трубопроводов и оборудования зданий и сооружений различного назначения.
2 НОРМАТИВНЫЕ ССЫЛКИ
В настоящем стандарте использованы ссылки на следующие стандарты:
ГОСТ 21.101-93 СПДС. Основные требования к рабочей документации
ГОСТ 21.109-80 СПДС. Ведомости потребности в материалах
ГОСТ 21.110-82 СПДС. Спецификация оборудования
ГОСТ 21.111-84 СПДС. Ведомости объемов строительных и монтажных работ
ГОСТ 17314-81 Устройства для крепления тепловой изоляции стальных сосудов и аппаратов. Конструкция и размеры. Технические требования
3 ОБЩИЕ ПОЛОЖЕНИЯ
3.1 Рабочую документацию тепловой изоляции оборудования и трубопроводов выполняют в соответствии с требованиями настоящего стандарта, ГОСТ 21.101 и других взаимосвязанных стандартов Системы проектной документации для строительства.
3.2 В состав рабочей документации тепловой изоляции включают:
— рабочие чертежи, предназначенные для производства монтажных работ (основной комплект рабочих чертежей марки ТИ);
— ведомость техномонтажную в соответствии с разделом 6;
— спецификацию оборудования по ГОСТ 21.110;
— ведомость потребности в материалах по ГОСТ 21.109*;
— ведомости объемов строительных и монтажных работ по ГОСТ 21.111*;
— эскизные чертежи общих видов нетиповых теплоизоляционных конструкций, изделий, устройств (далее — эскизные чертежи общих видов нетиповых изделий), предназначенные для разработки конструкторской документации.
_________
* Выполняют при наличии указаний в договоре на выполнение проектных работ
3.3 В состав основного комплекта рабочих чертежей марки ТИ включают:
— общие данные по рабочим чертежам;
— чертежи (виды, планы, разрезы) тепловой изоляции.
3.4 Позиционные обозначения (марки) оборудования (установок, блоков), систем, трубопроводов, арматуры и других элементов принимают по соответствующим рабочим чертежам (технологическим, тепломеханическим, санитарно-техническим и др.), на основании которых разрабатывают чертежи тепловой изоляции.
3.5 При незначительном объеме работ по тепловой изоляции трубопроводов и применении типовых решений допускается не выполнять основной комплект рабочих чертежей марки ТИ.
В этом случае соответствующие указания о выполнении работ, составе теплоизоляционных конструкций и техномонтажную ведомость (при необходимости) приводят на листе общих данных основного комплекта, содержащего рабочие чертежи трубопроводов, подлежащих изоляции.
4 ОБЩИЕ ДАННЫЕ ПО РАБОЧИМ ЧЕРТЕЖАМ
4.1 Общие данные по рабочим чертежам марки ТИ выполняют по ГОСТ 21.101.
4.2 В общих указаниях, кроме сведений, предусмотренных ГОСТ 21.101, приводят:
— расчетную температуру окружающего воздуха;
— результаты теплотехнических расчетов (при необходимости);
— коэффициенты уплотнения теплоизоляционных материалов;
— требования к изготовлению и монтажу тепловой изоляции оборудования и трубопроводов (допускается приводить на соответствующих чертежах тепловой изоляции);
— назначение изоляции для отдельных видов оборудования и трубопроводов, а также сведения по расположению тепловой изоляции в соответствии с 6.2, перечисление ж.
Примеры
1 Тепловая изоляция трубопроводов с температурой веществ от плюс 50 до плюс 240 °С предусмотрена с целью соблюдения норм плотности теплового потока.
2 Тепловая изоляция воздуховодов с температурой от плюс 5 до минус 20 °С, расположенных в помещении, предусмотрена с целью предотвращения конденсации влаги на поверхности теплоизоляционной конструкции.
5 ЧЕРТЕЖИ ТЕПЛОВОЙ ИЗОЛЯЦИИ
5.1 На чертежах тепловой изоляции (видах, планах и разрезах) наносят и указывают:
— координационные оси здания (сооружения)*;
— изолируемое оборудование (установки, блоки), трубопроводы, воздуховоды, газоходы, а также строительные конструкции*;
— отметки чистых полов этажей (площадок), уровней основных элементов оборудования*;
— размерные привязки оборудования (установок, блоков), трубопроводов, воздуховодов, газоходов, опор к координационным осям здания (сооружения)*;
— габаритные размеры оборудования;
— наружные размеры сечения трубопроводов и их элементов;
— толщину теплоизоляционного слоя в конструкции (при двух и более теплоизоляционных слоях указывают толщину каждого слоя);
— размерные привязки элементов крепления тепловой изоляции к элементам оборудования, трубопроводов, если они не определены требованиями ГОСТ 17314. При необходимости размерную привязку элементов крепления выполняют на отдельном чертеже;
— слои тепловой изоляции (тепло- и пароизоляционный, покровный) и их крепления с привязкой к элементам теплоизоляционной конструкции;
— позиционные обозначения элементов теплоизоляционных конструкций на полке линии-выноски;
— позиционные обозначения (марки) оборудования (установок, блоков), систем, трубопроводов, воздуховодов, газоходов;
Пример выполнения чертежа тепловой изоляции приведен в приложении А.
________
* Указывают при необходимости.
5.2 На видах, планах и разрезах теплоизоляционные конструкции, изделия, устройства изображают упрощенно сплошной толстой основной линией.
Оборудование (установки, блоки), трубопроводы, воздуховоды, газоходы и строительные конструкции на видах, планах и разрезах изображают сплошной тонкой линией.
Элементы крепления составных частей теплоизоляционной конструкции или их соединения между собой изображают, как правило, на узлах видов, планов или разрезов.
5.3 К каждому чертежу тепловой изоляции оборудования (установки, блока), трубопровода, воздуховода, газохода и других элементов составляют спецификацию по форме 7 или 8 ГОСТ 21.101.
5.4 Элементы теплоизоляционной конструкции записывают в спецификацию в следующей последовательности:
— изделия теплоизоляционные;
— материалы теплоизоляционные, пароизоляционные, покровного слоя;
— изделия крепежные.
5.5 В спецификации указывают:
— в графах «Кол.» и «Масса ед., кг» — объем и массу теплоизоляционного материала (для уплотняющегося материала — объем и массу указывают с учетом уплотнения);
— в графе «Примечание» — единицы измерения и другие необходимые данные.
6 ВЕДОМОСТЬ ТЕХНОМОНТАЖНАЯ
6.1 Ведомость техномонтажную (ВТ) выполняют по форме 1, приложение Б.
6.2 В графах ВТ указывают:
а) в графе «Марка, поз.» — обозначение изолируемого оборудования (установки, блока), системы, трубопровода, элемента трубопровода, арматуры, фланцевого соединения согласно 3.4;
б) в графе «Наименование»:
— для оборудования — наименование, тип, марку (для оборудования сложной конфигурации — площадь поверхности, подлежащей изоляции);
— для трубопровода, воздуховода, газохода — наименование, начальную и конечную точки трубопровода, воздуховода, газохода или их участков, подлежащих изоляции;
— для арматуры — тип, диаметр условного прохода;
в) в графе «Размеры: наружный диаметр или сечение, мм»: — для оборудования, трубопровода, воздуховода, газохода цилиндрической формы — наружный диаметр;
— для оборудования, воздуховода, газохода прямоугольного сечения — наружные размеры сечения;
г) в графе «Размеры: длина, высота, м» — длину (высоту) подлежащих изоляции участков горизонтального или вертикального оборудования, трубопровода, воздуховода, газохода.
Для оборудования сложной конфигурации, арматуры, фланцевых соединений графу «Размеры» не заполняют;
д) в графе «Кол.» — количество изолируемых элементов трубопровода, оборудования, арматуры и т. п.;
е) в графе «Температура вещества, °С» — температуру теплоносителя. Для обогреваемых трубопроводов и оборудования указывают также температуру теплоносителя трубопровода-спутника;
ж) в графе «Назначение и расположение» — назначение теплоизоляционной конструкции и расположение изолируемых оборудования, трубопровода, воздуховода, газохода в соответствии с заданием на проектирование. Для оборудования и трубопроводов (воздуховодов, газоходов), размещенных в одинаковых условиях, расположение не указывают. В этом случае сведения по расположению тепловой изоляции помещают в общих указаниях, входящих в состав общих данных по рабочим чертежам марки ТИ. Перечень обозначений, применяемых в техномонтажной ведомости для заполнения графы «Назначение и расположение», приведен в приложении В;
и) в графе «Наименование (обозначение)» — наименование или обозначение теплоизоляционной конструкции в соответствии с документацией на конструкцию. Допускается приводить наименование материала слоев тепловой изоляции;
к) в графе «Толщина слоя, мм, теплоизоляционного» — толщину каждого слоя из разнородных теплоизоляционных материалов или толщину индустриальной теплоизоляционной конструкции; для уплотняющихся материалов — толщину после уплотнения. Допускается указывать общую толщину слоев из однородных теплоизоляционных материалов;
л) в графе «Толщина слоя, мм, покровного» — толщину металлического покровного слоя. Для неметаллических покровных слоев графу не заполняют;
м) в графе «Поверхность, м2» — расчетную наружную поверхность покровного слоя;
и) в графе «Объем теплоизоляционного слоя, м3» — объем теплоизоляционных слоев по каждому слою в отдельности;
п) в графе «Обозначение документа» — обозначение документа на теплоизоляционную конструкцию;
р) в графе «Примечание» — дополнительные сведения.
6.3 ВТ выполняют, как правило, отдельным документом с присвоением самостоятельного обозначения, состоящего из — обозначения основного комплекта рабочих чертежей и (через точку) шифра ВТ, например, 2345-11-ТИ.ВТ.
При выполнении ВТ отдельным документом первым листом является титульный лист. Титульный лист выполняют по форме 2, приложение Г.
Допускается титульный лист не выполнять. В этом случае на первом листе ВТ наносят основную надпись по форме 3 ГОСТ 21.101.
7 СПЕЦИФИКАЦИЯ ОБОРУДОВАНИЯ
7.1 В спецификацию оборудования (СО) конструкции изделия и материалы записывают по группам в следующей последовательности:
— конструкции (изделия) теплоизоляционные;
— материалы теплоизоляционные;
— материалы пароизоляционные;
— материалы покровного слоя;
— другие материалы.
Изделия крепежные (болты, гайки, шайбы, прокладки) в СО не включают.
7.2 В графе «Наименование» перед наименованиями конструкций, изделий и материалов, включенных в СО, указывают порядковый номер их записи в СО. Графу «Поз.» не заполняют.
7.3 В СО принимают следующие единицы измерений:
— конструкции (изделия) — шт.;
— материалы теплоизоляционные — м3;
— материалы пароизоляционные и покровного слоя — м2;
— другие материалы — кг.
8 ЭСКИЗНЫЕ ЧЕРТЕЖИ ОБЩИХ ВИДОВ НЕТИПОВЫХ ИЗДЕЛИЙ
8.1 Эскизные чертежи выполняют в объеме задания, необходимого для разработки конструкторской документации.
8.2 Эскизный чертеж должен содержать:
— изображения изделия (виды, разрезы, сечения), технические требования и надписи, необходимые для понимания устройства изделия;
— наименования составных частей изделия;
— размеры и другие наносимые на изображения данные.
8.3 Изображения нетипового изделия выполняют с максимальными упрощениями.
8.4 Наименования составных частей нетипового изделия на эскизном чертеже указывают на полках линий-выносок.
8.5 В технических требованиях приводят:
— требования к разрабатываемому изделию и применяемым материалам;
— требования к изготовлению, монтажу и окраске;
— особые требования к изделию, например кислотостойкость.
8.6 Эскизному чертежу присваивают самостоятельное обозначение, состоящее из обозначения основного комплекта рабочих чертежей по ГОСТ 21.101, через точку шифра Н и порядкового номера эскизного чертежа.
Пример — 2345-11-ТИ.Н1; 2345-11-ТИ.Н2
ПРИЛОЖЕНИЕ А
(справочное)
Пример выполнения чертежа тепловой изоляции
