Выталкиватели быстросменные для кокилей с жидкостным охлаждением. Конструкция и размеры
На нашем сайте можно бесплатно скачать Руководящий документ ГОСТ 21089-75 в удобном формате. Узнать актуальный статус документа «Выталкиватели быстросменные для кокилей с жидкостным охлаждением. Конструкция и размеры» на 2016 год.
Скрыть дополнительную информацию
Страница 1

Страница 2

Страница 3

Страница 4

Страница 5

Страница 6

Страница 7

Страница 8

Страница 9

Страница 10
УДК 621.747.S1(0*3.74) Групп* П1
ГОСУДАРСТВЕННЫЙ СТАНДАРТ СОЮЗА ССР
ВЫТАЛКИВАТЕЛИ БЫСТРОСМЕННЫЕ ДЛЯ КОКИЛЕЙ С ЖИДКОСТНЫМ ОХЛАЖДЕНИЕМ ГОСТ
Конструкция м размеры
Quick detachable pushers for chill 21089““75
moulds with fluid cooling. ^
Construction and dimensions
Постановлением Государственного комитета стандартов Совета Министров СССР от 1* августа 1975 г. Ms 2173 срок действия установлен
с 01.01.77 до 01.01 И
Несоблюдение стандарта преследуется по закону
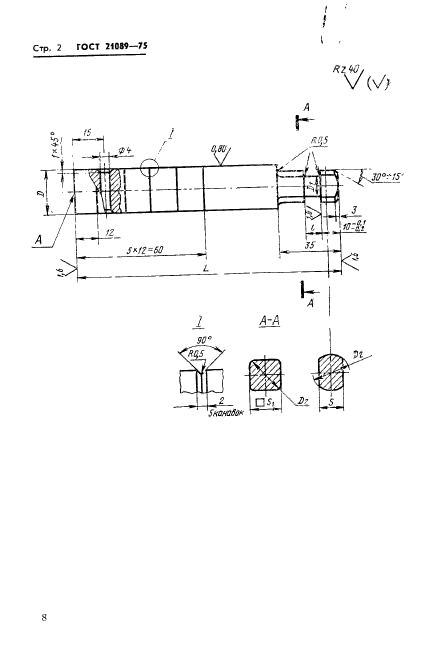
1. Конструкция н размеры быстросменных выталкивателей должны соответствовать указанным на чертеже и в таблице.
Перепечатка воспрещена
Издание офцциллкноо ★
7
Стр. 2 ГОСТ 210W—7J
8
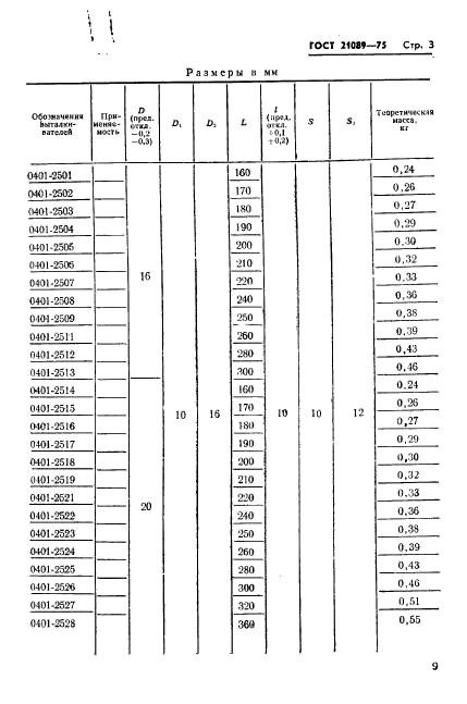
ГОСТ 21039-7$ Стр. 3
|
Размеры н мм |
||||||||||||||||||||||||||||||||||||||||||||||||||||||||||||||||||||||||||||||||||||||||||||||||||||||||||||||||||||||||||||||||||||||||||||||||||||||||||||||||||||||||||||||||||||||||||||||||||||||||||||||||||||||||||||||||||||||||||||||||||||||||||||||||||||||||
|
9
Стр. 4 ГОСТ 21099-75
|
Продо.гжение Размеры в siv |
|||||||||||||||||||||||||||||||||||||||||||||||||||||||||||||||||||||||||||||||||||||||||||||||||||||||||||||||||||||||||||||||||||||||||||||||||
|
Пример условного обозначения выталкивателя размерами £)-= 16 мм, 160 мм:
Выталкиватель 0401-2501 ГОСТ 21089-75
2. Материал — сталь марки У8А по ГОСТ 1435-74.
3. Твердость — HRC 45 … 50.
4. Длины выталкивателей, не указанные в таблице, должны выбираться по ближайшему большему размеру, указанному в таблице. с последующей подгонкой при сборке.
07<н1_!1лКрЫТКе _ ХиМ‘ °ХС‘ Прм (°бозначсн,,е похрытля по ГОСТ
У/У 1 Оо).
6. Центровые отверстия на поверхности А не допускаются.
7. Маркировать: наименование и обозначение быстросменного выталкивателя, обозначение стандарта и товарный знак прсаприя-тия-изготовителя.
ГОСТ 21099—TS Стр. 5
Маркировку наносить на тару или упаковку для партии быстросменных выталкивателей одного типоразмера.
8. Неуказанные предельные отклонения размеров: отверстий — по Ат, залов — по В7. остальных — по СМ*.
9. Пример установки быстросменных выталкивателей, конструкция и размеры отверстия в плите выталкивателей для установки выталкивателей указаны в справочных приложениях 1 и 2.
11
Crp. 6 ГОСТ 21089—7J
ПРИЛОЖЕНИЕ t Справочное
ПРИМЕР УСТАНОВКИ БЫСТРОСМЕННЫХ ВЫТАЛКИВАТЕЛЕЙ
|
/-*окляы 9—алжп аыталкямгедеЛ: ?—плапка фпгсевпукнцая: <—аружяпл: S— »*:г? МСХ)С.ГОСТ 17435-73— |
Примечание. Размеры отверстий з кокилях для выталкивателей выполнять по А,.
12
ГОСТ 2«Mt—75 Стр. 7
Ппанка фиксирующая (поз. 3)
Itff/
НПО,
VM
|
Тсфреппесхая масса 0,07 хг. Материал — сталь марки 35 по ГОСТ 1050-74. |
11 ягЩ ,.
2бтб 07,5 Ъ*
5-Ц6
\ + \42 Ш
RZ
|
1 |
м |
||
|
-1 0 |
3- , |
—w I |
|
|
-1 |
|||
Теоретическая мпсся — 0,012 кг.
Материал — сталь марки 65Г по ГОСТ 1050-74. Твердость — HRC 42 … 48.
13
Стр. 8 ГОСТ 21099—7J
ПРИЛОЖЕНИЕ 2 Справочное
КОНСТРУКЦИЯ И РАЗМЕРЫ ОТВЕРСТИЯ ДЛЯ УСТАНОВКИ БЫСТРОСМЕННЫХ ВЫТАЛКИВАТЕЛЕЙ В ПЛИТЕ ВЫТАЛКИВАТЕЛЕЙ
xzw;
v
А-А
А
h-
|
S |
г |
D |
н (прея, откл. -0.1 —м> |
|
|
11 |
5.5 |
27 |
20 |
17.5 |
|
18 |
9.0 |
43 |
•>) |
21,0 |
14
Изменение Jft I ГОС^ 21089—75 Выталкиватели быстросменные для кокилей с жидкостным охлаждением. Конструкция н размеры
Постановлением Государовенного комитета СССР по стандартам от 15.02.32 J6 617 срок введения установлен
с 01.07.82
Пункт I. Таблица. Заменить предельные отклонения: Z&l на b И; !^} на В II:
Заменить наименование граф: S на S (пред. откд- no h 8), Si на Si (пред. откл. по h 8), «Теоретическая мзсса, кг» на «Масса, кг, не более».
Пункт 5. Заменить ссылку: ГОСТ 9791-68 на ГОСТ 9,073—77.
Пункт 8. Заменить обозначения предельных отклонений: Лт ка НИ, В,- на !Т 14
h 14, CMi на t —2—
Приложение 1. Чертеж Подрясукочная подпись. Заменить обозначения винтов: Мбх 16.48019 по ГОСТ 1491-72 на В 1.М6~8цх16.Ш19 по ГОСТ
(Продолжение см. стр- 68)
(Продолжение изменения к ГОСТ 21089-75)
1491—НО. М5х 20 18.019 по ГОСТ /7475-72 на М5-8вХ20.48Л!9 по ГОСТ 17475-80;
примечание. Заменить обозначение предельного отклонения: на НИ;
чертежи «Планка фиксирующая (воз. 3)», «пружина (поз. 4)». заменить слова: «Теоретическая масса» на «Масса не более»; в обозначениях допуска
расположения (в рамках) замелить знак: на
Приложение 2. Чертеж. В обозначении допуска расположения (в рамке)
заменить знак: + на
таблица. Заменить обозначения предельных отклонений: на с8.
(ИУС Wr 6 1982 г.)

