Смазки пластичные. Метод определения механической стабильности
На нашем сайте можно бесплатно скачать Руководящий документ ГОСТ 19295-73 в удобном формате. Узнать актуальный статус документа «Смазки пластичные. Метод определения механической стабильности» на 2016 год.
Скрыть дополнительную информацию
Страница 1

Страница 2

Страница 3

Страница 4

Страница 5

Страница 6

Страница 7

Страница 8

Страница 9

Страница 10

Страница 11
ГОСТ 19295-73
МЕЖГОСУДАРСТВЕННЫЙ СТАНДАРТ
СМАЗКИ ПЛАСТИЧНЫЕ
МЕТОД ОПРЕДЕЛЕНИЯ МЕХАНИЧЕСКОЙ СТАБИЛЬНОСТИ
Издание официальное
БЗ 6-97
ИПК ИЗДАТЕЛЬСТВО СТАНДАРТОВ Москва
УДК 621.892.001.4:006.354 Группа Б39
МЕЖГОСУДАРСТВЕННЫЙ СТАНДАРТ
СМАЗКИ ПЛАСТИЧНЫЕ
Метод определения механической стабильности ГОСТ
19295-73
Lubricating greases.
Method of mechanical stability determination
ОКСТУ 0209
Дата введения 01.01.75
Настоящий стандарт распространяется на пластичные смазки и устанавливает метод определения механической стабильности, которая выражается индексом разрушения (АГр), характеризующим степень разрушения смазки при ее интенсивном деформировании и индексом тиксотропного восстановления (Аи), характеризующим степень тиксотропного восстановления смазки.
Сущность метода заключается в определении изменения предела прочности на разрыв в результате интенсивного деформирования смазки в зазоре между ротором и статором тнксометра и при последующем тиксотропном восстановлении.
I. АППАРАТУРА И РЕАКТИВЫ
1.1. При определении механической стабильности пластичных смазок применяют: тиксометр (см. приложение, черт. 3) с пределом измерения от 50 до 7500 Па (от 0,5 до 75 гс/см’); мешалку для перемешивания смазки, представляющую собой полый стальной цилиндр внутренним диаметром 40 мм и высотой 60 мм со сьемными крышками. Через верхнюю крышку в цилиндр вставлен поршень с 38 отверстиями диаметром 3 мм. Допускается использовать мешалку с цилиндрическим вкладышем, уменьшающим ее объем в два раза. Мешалка может быть оборудована приспособлением для облегчения перемешивания;
чашечки стальные или стеклянные диаметром от 30 до 50 мм с высотой бортика 2—3 мм (10 шт.). На чашечках должна быть указана (травлением, электрографическим или иным способом) их масса с погрешностью не более 0.01 г; масса чашечек должна проверяться не реже чем раз в два месяца;
термостат типа ТС-15 или другого типа, обеспечивающий термостатирование от 15 до 80 ‘С с погрешностью не более 1 “С;
весы лабораторные общего назначения с пределом взвешивания 200 г, не ниже 2-го класса точности;
секундомер;
трубку резиновую по ГОСТ 54% с внутренним диаметром 4.5—6.0 мм, толщиной стенки 3 мм и длиной около 1000 мм для подключения к термостату; шпатель;
ершик диаметром 3 мм;
растворитель нефтяной — нефрас С 50/170 по ГОСТ 8505 или бензин-растворитель для резиновой промышленности;
спирт этиловый синтетический технический или спирт этиловый технический по ГОСТ 17299; толуол нефтяной чистый по ГОСТ 14710; смесь спиртотолуольная 1:4.
(Измененная редакция, Изм. № 2, 3, 4, 5).
Перепечатка воспрещена
Издание официальное ★
© Издательство стандартов. 1973 © И ПК Издательство стандартов, 2001
С. 2 ГОСТ 19295-73
2. ПОДГОТОВКА К ИСПЫТАНИЮ
2.1. Перед испытанием смазка должна быть выдержана при 15—25 «С не менее 2 ч.
Если это предусмотрено в технических требованиях, смазку перед заправкой в аппарат перемешивают в мешалке при температуре окружающего воздуха (от 15 до 25 *С). Дня этого цилиндр мешалки шпателем заполняют смазкой, не допуская образования пустот (контроль визуальный). Надев на цилиндр верхнюю и нижнюю крышки, смазку перемешивают, сообщив поршню количество ходов, установленное в технических требованиях на смазку. Поршень мешалки поднимают вверх, снимают крышки и извлекают смазку.
2.2. Перед испытанием все детали таксометра, соприкасающиеся со смазкой, чашечки, трубки тиксотроппого восстановления промывают пефрасом. а труднорастворимых смазок — спиртотолу-ольной смесыо и высушивают на воздухе.
(Измененная редакция, Изч. № 2, 4).
2.3. Устанавливают статор 17 (черт. 3) на корпус 2 и закрепляют гайкой 21. Проверяют положение толкателя 14. Он должен быть вывернут на расстояние не менее 32 мм.
2.4. Заполняют подготовленной к испытаниям смазкой стакан 16. Устанавливают стакан 16 с поршнем 15 и смазкой в статор 17 и подводят толкатель 14 к поршню /5 до касания толкателя с поршнем.
2.5. Устанавливают фиксатор 12 и соединяют штуцеры 26 статора с термостатом резиновыми трубками. Термостат должен обеспечивать температуру испытания, указанную в нормативно-техническом документе на смазку. Температуру смазки в зоне испытания измеряют термопарами, устанавливаемыми в отверстия статора вместо пробок 27.
2.3—2.5. (Измененная редакция, Изм. № 4).
3. ПРОВЕДЕНИЕ ИСПЫТАНИЯ
3.1. Определение предела прочности на разрыв исходной, неразрушенной смазки.
3.1.1. Снимают колпачок 20 с капилляра 18 и навинчивают его на капилляр 19. Включают электродвигатель 4, который через пинтовую передачу (винт 9. втулка-гайка 10) и толкатель 14 перемещает поршень 15, выдавливаюший смазку через капилляр 18.
Столбик смазки, выходящий из капилляра, разрывается около обреза капилляра в тот момент, когда его масса превзойдет предел прочности на разрыв исходной (неразрушенной) смазки.
(Измененная редакция, Изм. № 4).
3.1.2. Оторвавшиеся столбики смазки собирают в две чашечки в каждую от двух до восьми столбиков с тем, чтобы их обшая масса была не менее 0.3 г. Если разрыв произошел по дефектному, визуально выявленному воздушному пузырьку, широкой трешине и т. п.. столбик отбрасывают. Если масса одного оторвавшегося столбика превышает 0,5 г, в каждую чашечку собирают по одному столбику смазки.
3.2. Определение предела прочности на разрыв смазки после ее интенсивного деформирования.
3.2.1. Снимают колпачок с капилляра 19, навинчивают его на капилляр 18.
3.2.2. Затем включают последовательно электродвигатель 3, который вращает ротор 6, и электродвигатель 4. приводящий в движение поршень 15. При этом смазка, разрушившись между вращающимся ротором и статором, будет выдавливаться через капилляр 19.
Условно принимается, что смазка поступает на обрез капилляра непосредственно после выхода из зоны интенсивного деформирования между ротором и статором.
(Измененная редакция, Изм. № 4).
3.2.3. Далее испытание проводят по п. 3.1.2.
3.3. Определение предела прочности на разрыв смазки после ее интенсивного разрушения и длительного тиксотроппого восстановления.
3.3.1. Снимают колпачок с капилляра 19, навинчивают его на капилляр 18. Навинчивают на капилляр 19 трубку тиксотроппого восстановления. Далее испытание проводят по п. 3.2.2.
3.3.2. Смазка, поступающая из капилляра 19, заполняет трубку тиксотроппого восстановления, выходит из нижнего капилляра этой трубки и разрывается около обреза капилляра в тот момент, когда масса столбика смазки превзойдет предел прочности на разрыв разрушенной и тиксотропно восстановившейся смазки. Время заполнения смазкой трубки тиксотроппого восстановления со-стаапяет примерно 3 мин.
ГОСТ 19295-73 С. 3
Далее испытание продолжают так, как описано в п. 3.1.2.
3.3.3. Для определения предела прочности смазки после разрушения и более длительного тиксотропного восстановления, определение проводят по п. 3.3.1. После заполнения смазкой трубки тиксотропного восстановления ее отсоединяют от капилляра 19 и хранят в защищенном от света месте. Затем трубку со смазкой навинчивают на капилляр IS.
Предел прочности на разрыв определяют по п. 3.1. Необходимо следить, чтобы измерение было закончено до начала выхода свежей неразрушенной смазки, используемой для выдавливания испытуемой смазки из трубки тиксотропного восстановления.
Время тиксотропного восстановления, составляющее 3 мин, 30 мин или 3 суг, устанавливают в технических требованиях на смазку.
3.3.1—3.3.3. (Измененная редакция, Изм. № 4).
4. ОБРАБОТКА РЕЗУЛЬТАТОВ
4.1. Чашечки с собранными столбиками смазки взвешивают с погрешностью не более 0.01 г и определяют среднеарифметическое значение массы одного столбика смазки в обеих чашечках.
Если масса смазки в каждой из двух чашечек отличается от среднеарифметического двух определений массы более чем на ±10 %. испытание повторяют.
4.2. Предел прочности на разрыв испытуемой смазки (о„,) в паскалях (Па) вычисляют по формуле
4 9.81 • 10 т ————:
в гс/см’, по формуле
где />/ — среднеарифметическое значение массы оторвавшегося столбика смазки, г; d — диаметр капилляра, измеряется с погрешностью не более 0.001 см.
Результаты расчета округляют и записывают в виде двух значащих цифр, например 3,2 гс/см2; 18 гс/см2.
4.3. Индекс разрушения (АТ) в процентах вычисляют по формуле
К=—-L— 100,
р
где о1( — предел прочности на разрыв исходной (неразрушенной) смазки, Па или гс/см2:
— предел прочности на разрыв смазки после разрушения, Па или гс/см2.
4.1—4.3. (Измененная редакция, Изм. № 3).
4.4. Индекс тиксотропного восстановления смазки (Кн) в процентах вычисляют по формуле
о — а А, = “о!> ■ 100,
где о, — предел прочности на разрыв смазки после разрушения и тиксотропного восстановления, 11а или гс/см2.
Время восстановления указывается у индекса Кй в скобках. Например Кг (30 мин) = 50,0 %, К, (3 суг) = 70 %.
(Измененная редакция, И хм. № 1, 3).
4.5. Индексы Кр и Ка могут выражаться положительным и отрицательным числом в зависимости от характера тнксотропных превращений смазки.
4.6. За результат испытания принимают среднеарифметическое результатов двух параллельных определений.
(Измененная редакция, Изм. № 4).
С. 4 ГОСТ 19295-73
5. ТОЧНОСТЬ МЕТОДА
5.1. Сходимость.
Два результата определений предела прочности, полученные одним исполнителем, признаются достоверными (с 95 %-ной доверительной вероятностью), если расхождение между ними не превышает:
— для разрушенной смазки — 34 Па;
— для исходной смазки — значения, определенного по графику (черт. I, кривая I) для большего результата;
— для восстановленной смазки — значения, определенного по график)’ (черт. 2, кривая /) для большего результата.
5.2. Воспроизводимость
Два результата испытаний предела прочности, полученные в двух разных лабораториях, признаются достоверными (с 95 %-ной доверительной вероятностью), если расхождение между ними не превышает:
— для разрушенной смазки — 184 Па;
— для исходной смазки — значения, определенного по графику (черт. I, кривая 2) для большего результата;
— для восстановленной смазки — значения, определенного по графику (черт. 2, кривая 2) для большего результата.
Раздел 5. (Введен дополнительно, Изм. № 4).
ГОСТ 19295-73 С. 5
ПРИЛОЖЕНИЕ
Справочное
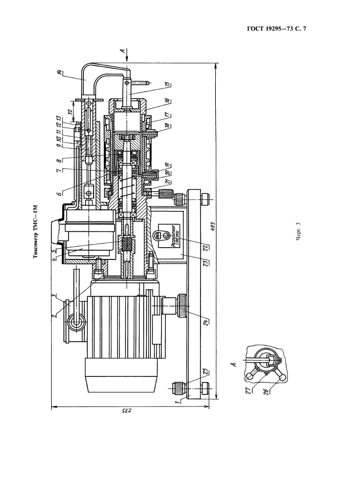
ОПИСАНИЕ ОСНОВНЫХ ДЕТАЛЕЙ ТИКСОМЕТРА
Тиксометр (черт. 3). в котором смазка разрушается в зазоре между ротором и статором при постоянном скорости деформаиии 6000 с-1 и температуре 20 *С в течение 100 с, состоит из:
— массивной плиты /. на которой закреплен корпус 2, являющийся основной несущей частью тнксомстра:
— асинхронного двигателя 3 типа 4АЛМ56В4УЗ, укрепленного на корпусе 2:
— цилиндрического ротора 6 диаметром (41,000+0,039) мм и рабочей длиной (60,0±0,5) мм. укреаченного на двух подшипниках качения и приводимого во вращение от вала электродвигателя с частотой вращения 1370 мин-1 через эластичную муфту 5; двух сальниковых уплотнений 7, расположенных на валу, и манжета 8. исключающих выход смазки из зоны разрушения:
— синхронного электродвигателя 4типа СД-54. который служит для подачи смазки в капилляр или в зазор между статором и ротором;
— пинга 9. который вращаясь от электродвигателя 4. перемешает втулку-гайку 10 по направляющей П. Направляющая II имеет паз, в который усганаачивается фиксатор 12.
— толкателя 14, перемещение которою ограничивается кнопкой 13, которая отрегулирована на ход 32 мм;
— статора /7. представляющего собой полый цилиндр с внутренним диаметром (42.000t0.039) мм. прикрепленного к корпусу 2с помошью быстро-зажимной гайки 21. Коаксиальный зазор между статором и ротором (1,00*0.04) мм.
Биение ротора по отношению к статору не должно превышать ±0.05 мм:
— стакана 16 с поршнем IS. Скорость перемещения поршня внутри сгакана (3,9±0,2)-10_| м/с, что обеспечивает расход смазки (0,0415±0,0030) см ‘/с:
— капилляров !8и 19, диаметром (2,0040,01) мм и длиной <20.0±0,5) мм, ввинченных снизу в тело статора:
— нижнего и верхнего шгуиеров 26, расположенных в статоре /7для подвода и отвода термосгатирующей жидкости;
— ампулы уровня 24. установленной на плите I тиксометра. которая позволяет определять вертикальность положения капилляров IS и 19;
— ножек-винтов 25, с помошью которых производят установку тиксометра по уровню;
— термопар, устанавливаемых в отверстия статора для контроля температуры в зоне испытания;
— трубок тиксотроиного восстановления из органического стекла, объемом (7.0±0,2) см* (черт. 4). Конструкция, размеры деталей, частота вращения ротора, скорость перемещения поршня должны
обеспечивать следующие характеристики тиксометра.
Скорость деформации смазки (/)), с-1, в цилиндрическом коаксиальном зазоре между ротором и статором в пределах (6000±200) с“’ вычисляют по формуле
к — d„ п D—-,
30 (< - р |
где dp — диаметр ротора, см: ае — диаметр статора, см; и — частота вращения, мин-1.
Время (0. с. движения смазки но зазору между ротором и статором в пределах (95±5) с вычисляют по формуле
n-Hdj-dj)
4 Q ’
где I — длина ротора, см;
Q — расход смазки, см3/с.
Время тиксотропного восстановления смазки после выхода ее из зоны интенсивного деформирования между ротором и статором до момента появления ее у обреза капилляре! должно составлять пр>шерно 3 с.
Скорость нагружения смазки (vj, г/см* с. в пределах (1,20±0.05) r/см’-с. при плотности 0.9 г/см’ вычисляют по формуле
3.6 <>
V. — —ут- . r.d-
где d — диаметр капилляра, см.
График (акисичости сходимости и воспроиюоличости метода
от upcjMMa прочности исхолной скажи
|
I — с.\олнмос1ь. 2— вое прон 1Водимос1ь |
С. 6 ГОСТ 19295-73
|
*102 |
|
I — сходимость; 2 — юспрон мюли кость |
Показатели точности, Па
Черт. 2
ГОСТ 19295-73 С. 7
|
S£Z |
Черт. 3
С. 8 ГОСТ 19295-73
|
Трубка тиксогрешною восстановления |
Черт. 4
ПРИЛОЖЕНИЕ. (Ишснснная редакция. Изм. № 4).
ГОСТ 19295-73 С. 9
ИНФОРМАЦИОН11Ы Е ДАНН Ы Е
1. РАЗРАБОТАН И ВНЕСЕН Министерством нефтеперерабатывающей и нефтехимической промышленности СССР
2. УТВЕРЖДЕН И ВВЕДЕН В ДЕЙСТВИЕ Постановлением Государственного комитета стандартов Совета Министров СССР от 25.12.73 № 2779
|
3. ССЫЛОЧНЫЕ НОРМАТИВНО-ТЕХНИЧЕСКИЕ ДОКУМЕНТЫ |
||||||||||||
|
4. Ограничение срока действия сияю Постановлением Госстандарта от 09.09.92 .V? 1143
5. ИЗДАНИЕ (январь 2001 г.) с Итменениями № 1,2, 3, 4, 5, утвержденными в апреле 1979 г., июле 19К4 г., апреле 1987 г., феврале 1990 г., октябре 1994 г. (ИУС 6-79, 11-84, 7-87, 5-90, 4-95)
Редактор В. И. Копи сов Технический реадкюр //.С. Гришаколо Корректор В. И. Варснцоеа Компьютерная верстка С.В. Pafoteoi\
Изд. лиц. N; 1)2354 от 14.07.2000. Сдано в набор 30.01.2001. Подписано п печать 26.02.2001. Усд.печл. 1,40. Уч.-изд.д. 0,73.
Тираж 209 экз. С У%. Зак. 217.
ИПК Издательство стандартов. 107076. Москва. Колодежмй пер.. 14.
Набрано и Издательстве на ПЭВМ Филиал ИПК И здательстпо стандартов — тип. “Московский печати к», 103062. Москва. Лялин пер.. 6.
Плр >к 080102

