Лампы электрические. Методы измерения электрических и световых параметров
Действие завершено 01.07.2014
Утратил силу в РФ
Заменяет

Страница 1

Страница 2

Страница 3

Страница 4

Страница 5

Страница 6

Страница 7

Страница 8

Страница 9

Страница 10

Страница 11

Страница 12

Страница 13

Страница 14

Страница 15

Страница 16

Страница 17

Страница 18

Страница 19

Страница 20

Страница 21

Страница 22

Страница 23

Страница 24

Страница 25

Страница 26

Страница 27

Страница 28

Страница 29

Страница 30

Страница 31

Страница 32

Страница 33

Страница 34

Страница 35

Страница 36

Страница 37

Страница 38

Страница 39

Страница 40

Страница 41

Страница 42

Страница 43

Страница 44

Страница 45

Страница 46

Страница 47

Страница 48

Страница 49

Страница 50
t/^i^’ I 3 ‘-j-
ГОСУДАРСТВЕННЫЙ СТАНДАРТ СОЮЗА ССР
ЛАМПЫ ЭЛЕКТРИЧЕСКИЕ
МЕТОДЫ ИЗМЕРЕНИЯ ЭЛЕКТРИЧЕСКИХ И СВЕТОВЫХ ПАРАМЕТРОВ
ГОСТ 17616-82 (СТ СВ 3180—81)
Издание официальное
Цена 15 коп.
ГОСУДАРСТВЕННЫЙ КОМИТЕТ СССР ПО СТАНДАРТАМ Москва
УДК 6Jt.JJ6.MJ: 006.JS4 группа Е89
ГОСУДАРСТВЕННЫЙ СТАНДАРТ СОЮЗА ССР
ГОСТ
ЛАМПЫ ЭЛЕКТРИЧЕСКИЕ
|
Методы измерения электрических и световых параметров Elekiric lamps Measurements of clcctrical and luminous characteristics OKU 34 6600 34 6700 |
17616—82 (CT CB 3180—81] Взамен ГОСТ 17616-80, ГОСТ J14J0—7J |
Постановлением Государственного комитета СССР по стандартам от J сентября 1981 Г. М» J481 срок дейстяия установлен
с 01.01.83 до 01.01.9i
Несоблюдение стандарта преследуется по закону
Настоящий стандарт распространяется на электрические лампы накаливания, люминесцентные низкого давления, ртутные дуговые высокого давления, натриевые высокого давления, ртутные металлогалогенные высокого давления и устанавливает методы измерения светового потока и электрических параметров, а также
методы измерения силы света, яркости, цветовой температуры_и
пространственного светоча с пределен ни для ламп накаливания.
(ландарт не распространяется на светоизмерительные лампы и лампы-фары.
Стандарт полностью соответствует СТ СЭВ 3180—81.
1. МЕТОДЫ ИЗМЕРЕНИЯ ЭЛЕКТРИЧЕСКИХ ПАРАМЕТРОВ
1.1. Аппаратура
1.1.1. Электрические системы питания
Для питания ламп накаливания должны применяться источники постоянного или переменного тока, а для разрядных ламп — переменного тока.
1.1.1.1. Система питания постоянным током должна состоять из стабилизированного и регулируемого источника выпрямленного напряжения. При питании от аккумуляторных батарей следует применять схему, представленную на черт. I.
Издание официальное Перепечатка воспрещена
Переиздание. Январь 1983 г.
© Издательство стандартов, 1983
Стр. 2 ГОСТ 17*16—«2
|
Схема системы питания постоянным током |
|
I. г диполи ДЛЯ ПОЛ».1ЮЧ<ИИМ ЯСТОЧИЯМ постоянного ток»: 3, 1—нмволы для подключения системы измерении; R — регулировочный рези-crop: яиилючатель. Черт. I |
1.1.1.2. Система питания постоянным током должна удовлетворять следующим требованиям:
коэффициент пульсации не должен превышать 0,2%;
во время отсчета показаний измерительных приборов напряжение на выходах 3, 4 не должно изменяться более чем на ±0,1%.
1.1.1.3. Система питания переменным током должна состоять из источника синусоидального напряжения, стабилизирующего и регулирующего устройств, позволяющих трансформировать напряжения.
Рекомендуемые схемы систем питания переменным током приведены на черт. 2а, б.
Схемы систем питания переменным током
I, t nt.it»дм для подялюяеиин ктоянвка пйргмсикого тока: 3. 4— имю-ям для подключения системы иамереги*; > — стабилизатор иапрхжеин*:
ATI, ATI—регудиро-ючмые лятотрлвс^ориаторм; TV—добвючиыЯ трансформатор ИЙКрЯЖСГЛЯ
Черт. 2
Схема системы питания с добавочным трансформатором, представленная на черт. 26, предназначена для применения при необ-.
ГОСТ ‘17616—82 Стр. 3
ходимости точной регулировки питающего напряжения в широких пределах.
1.1.1.4. Система питания переменным током должна удовлетворять следующим требованиям:
во время отсчета показании измерительных приборов напряжение питания на выводах 3. 4 не должно изменяться более чем на ±0.1%;
форма питающего напряжения должна быть практически синусоидальной. Содержание высших гармоник не должно превышать
1.1.1.5. Методы проверки электрических систем питания приведены в справочном приложении 1.
1.1.2. Система измерения
1.1.2.1. При измерении электрических параметров ламп применяют системы измерения, схемы которых указаны на черт. 3, 4.
Рабочее напряжение ламп измеряют непосредственно на контактах лампового патрона. Ток не должен проходить через провода, подсоединенные к вольтметру.
|
Схема системы измерении электрических параметр»» ламп накаливания |
|
‘ а. Л — пыполы для полключеки» системы петаки*: 14’ вольтметр *л« ммерели* рабочего иалраже имя ламой: РА амперметр для я>мсремия рабочего Т1>«аламаи; EL—-лаиси: SAI, УЛг- аыилючатоли |
Черт. 3
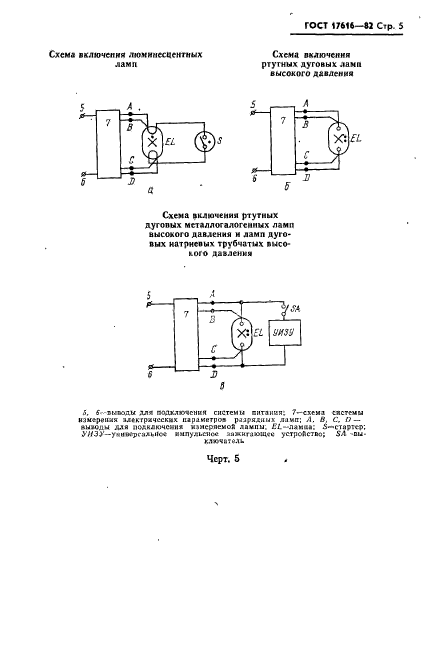
1.1.2.2. Схемы включения разрядных ламп представлены на черт. 5а, б, в.
1.1.2.3. Электроизмерительные приборы.
Класс точности применяемых электроизмерительных приборов должен быть не ниже 0,2. При питании переменным током класс точности применяемых электроизмерительных приборов допускается не ниже 0,5.
Стр. 4 ГОСТ 17616-82
|
Схема системы измерения электрических параметре* разрядных ламп |
|
i. 4—выводи для годключсная системы питания; PVI— вольтметр для iuwqicr.ua лапряжсяма янглиия; ДОИ —дроссель обраэцовиЛ и шерит*лы1ыа-. РА—амперметр для н>м>р«ям« рлбелего токt л«хпы: /’Г—мттиегр дли иуме^ник мошнпгти ламчи; Pyt— вольтметр для щиерекиг. рабочего папрт.жеяия лампы; SAt, SA3, SA3. SA4—выключатели: Л. В. С. D—iu- яоды дли подклюяен&я xsMcpncwof! лампы |
Черт. 4
Приборы должны показывать эффективные значения измеряемых электрических величии. Показания приборов должны быть независимы от формы кривой и частоты.
Ток, потребляемый подключенными параллельно разрядной лампе электроизмерительными приборами, не должен превышать 3% от номинального значения тока лампы, а падение напряжения в последовательно включенных электроизмерительных приборах не должно превышать 2% от значения напряжения раз|рядной лампы.
Электроизмерительные приборы должны подбираться так. чтобы при измерениях их показания превышали первую половину всей шкалы.
1.1.2.4. Дроссели образцовые измерительные.
При измерении электрических параметров разрядных ламп • должны применяться соответствующие образцовые измерительные дроссели (ДОИ) по ГОСТ 16809-78 с параметрами, приведенными в табл. 1—3. Для измерения люминесцентных ламп должны применяться ДОИ по ГОСТ С825—74.
При измерении электрических параметров люминесцентных ламп должны применяться стартеры по ПОСТ 8799—75.
ГОСТ 17616—$2 Стр. 5
Схема включения ртутных дуговых ламп высокого давления
Схема включении {путных луговых металлоталогенных ламп высокого давления и дамп дуговых натриевых трубчатых высокого давления
5
5. б’-ъиьады для подключении системы витания; 7-схема системы измерения ал*кгричсских нараистроа разрядных ламп; A. U. С, О— выводы аля подключение илиерпемо* лампы. EL~лама*; 5—стяртср; >7/ЗУ—учивергадьио* ммлульсио-? аяжягвющ** устройство; SA ПЫ-
КЛЯУЯйТ йЛ к
Черт. б Л
N
Стр, 6 ГОСТ 17616-82
|
Параметры ДОИ для ртутных дуговых ламп высокого давления Т 8 бл и «а 1 |
||||||||||||||||||||||||||||||||||||||||||||||||||||||||
|
||||||||||||||||||||||||||||||||||||||||||||||||||||||||
|
Таблица 2 |
||||||||||||||||||||||||||||||||||||||||||||||||||||||||
|
Параметры ДОИ для ртутных мегаллогалогеинмх ламп высокого давления |
||||||||||||||||||||||||||||||||||||||||||||
|
||||||||||||||||||||||||||||||||||||||||||||
1.1.2.5. Универсальное импульсное зажигающее устройство (УИЗУ).
В измерительную схему дуговых ртутных металлогалогенных ламп высокого давления и дуговых натриевых трубчатых ламп высокого давления должно включаться универсальное импульсное зажигающее устройство, параметры которого должны соответствовать данным, приведенным в табл. 4.
Во время измерений электрических и световых параметров УИЗУ должно быть отключено.
1.2. Подготовка к измерениям
1.2.1. Перед измерением электрических параметров лампы подвергают предварительному отжигу в течение времени, указанного
ГОСТ 17616-82 Стр. 7
|
Таблица 3 Параметры ДОИ для дуговых натриевых трубчатых ламп высокого давления |
||||||||||||||||||||||||||||||||||||||||||||
|
||||||||||||||||||||||||||||||||||||||||||||
Примечания:
1. Предельные отклонения параметров ДОИ or номинальных должны соответствовать указанным и ГОСТ 16809-78.
2. Отношение потерь мощности в обнотке ДОМ к потерям мощности в стали должно быть не менее 1Д
|
Таблица А |
||||||||||||||||||||||||||||||
|
||||||||||||||||||||||||||||||
в стандартах или технических условиях на конкретные типы ламп — для разрядных ламп, и в течение времени, указанного в табл. 5, если иное время не указано в стандартах или технических условиях на конкретные типы ламп — для ламп накаливания.
|
Таблица 5 |
||||||||||||||||||||||||||||||
|
Стр. 8 ГОСТ 17616-81
1.2.2. Измерение электрических параметров разрядных ламп следует проводить при установившемся электрическом режиме, но не менее чем через 15 мин ее непрерывной горения.
1.3. Проведение измерений и обработка результатов
1.3.1. Электрические параметры .измеряют при номинальном или расчетном напряжениях, или токе, или номинальной мощности.
1.3.2. Измерение электрических параметров ламп накаливания проиодят по схеме, указанной на черт. 3, в следующей последовательности:
при включенном амперметре РА устанавливают по вольтметру PV номинальное или расчетное напряжение и записывают показание амперметра 1а;
. определяют ток лампы (/*) в А путем вычитания из значения .измеренного тока /, значения тока, потребляемого вольтметром, ло формуле
/л = Л—. (1)
где U — напряжение лампы, В;
Ra — сопротивление вольтметра. Ом.
Введение поправки на ток, потребляемый вольтметром, необходимо, если его величина более 0,5% величины номинального тока лампы.
1.3.3. Электрические параметры разрядных ламп измеряют по схемам, указанным на черт. 4, 5, одним из следующих способов:
при номинальном напряжении ДОИ;
при номинальной мощности.
1.3.4. Электрические параметры разрядных ламп при номинальном напряжении ДОИ измеряют следующим образом:
1) устанавливают по вольтметру PVJ номинальное напряжение, при этом все остальные приборы должны быть отключены (приборы можно оставить включенными, если их собственное потребление очень мало);
2) после 15 мин горения корректируют значение установленного по вольтметру PVJ напряжения н через 5 мин’ определяют показания прибора, измеряющего фототок;
3) включают вольтметр PV2 и путем изменения напряжения питания восстанавливают показание прибора, измеряющего фототок. определенное в подпункте 2, а по вольтметру PV2 определяют рабочее напряжение на лампе, затем вольтметр PV2 отключают;
4) включают амперметр РА и путем изменения напряжения питания восстанавливают показания прибора, измеряющего фототок, определенные в подпункте 2, по амперметру РА определяют ток, проходящий через лампу; затем амперметр РА отключают;
ГОСТ <7616—82 Стр. 9
5) включают ваттметр РW и путем изменения напряжения питания восстанавливают показание прибора, измеряющего фототок, определенное в подпункте 2. по ваттметру определяют мощность, затем ваттметр отключают. Из полученного значения мощности вычитают мощность, потребляемую параллельной цепью ваттметра. Окончательное значение мощности, потребляемой лампой (Ря) в Вт, вычисляют по формуле
——-, (2)
где Рщ — мощность лампы, измеряемая ваттметром, Вт;
ии — рабочее напряжение на лампе. В;
Rw — сопротивление параллельной цепи ваттметра, Ом;
G) установлением номинального напряжения питания проверяют показание прибора, измеряющего фототок, согласно подпункту 2.
В случае несовпадения этого показания на 1% измерение необходимо повторить.
1.3.5. Измерение электрических параметров разрядных ламп при номинальной мощности проводят в следующей последовательности:
1) устанавливают по ваттметру PW значение мощности путем изменения напряжения питания. Все остальные приборы должны быть отключены;
2) после 15 мин горения корректируют значение мощности Pw. установленной но ваттметру Pw. Записывают через 5 мин показание вольтметра PVI, соответствующее этой мощности, затем ваттметр РW отключают и определяют показание прибора, измеряющего фототок;
3) поочередно включают вольтметр PV2 и амперметр РА, ваттметр PW отключают. При этом путем изменения напряжения питания поддерживают то значение напряжения, которое было определено в подпункте 2;
4) при этом значении напряжения определяют поочередно по вольтметру PV2 рабочее напряжение на лампе, а по амперметру РА — ток, проходящий через лампу.
2. МЕТОД ИЗМЕРЕНИЯ СВЕТОВОГО ПОТОКА
Метод основан на поочередном сравнении освещенности приемника излучения, создаваемой измеряемой лампой, с освещенностью приемника излучения, создаваемой контрольной или светоизмерительной лампой с известными световыми потоками.
Измерение светового потока должно проводиться на установке. схема которой приведена на черт. G.
Стр. 10 ГОСТ 17616-82
|
к системе пипами |
|
|
!— фотометрический ш»р. ?—экраны; 3- сэсторастюаюикс стекло; < Дяофрими; $ т'йтрглъммЛ скстофильтр. 6- ьорряГидопДИ-I и* пр«»ммн« излучения: EL- -шиервемля ллма»: £/./—испоио- mwmmn л.т цел яакалн’мимя: PV—вольтметр для иамеммяя цз-Л|>пжгиия лмтаняя аспомоытодмюП д*чпи; РиЛ — прибор. «»е-рнювгнЛ фототек; S.1—пмклочателк |
|
Черт. 6
Схема фотометрической установки дли измерения светового потока
2.1. А п и а р а т у р а
Для измерения спотового потока применяют:
• фотометрический шар;
приемник излучения;
нейтральные светофильтры;
светоизмерительные и контрольные лампы.
Допускается применение других методов и приборов, обеспечивающих требуемую точность измерений.
2.1.1. Фотометрический шар
2.1.1.1. Размер фотометрического шара Должен выбираться, исходя из размеров и мощности измеряемых ламп, при обеспечении температуры внутри шара, которая не повлияет на точность измерения.
Диаметр фотометрического шара должен составлять не менее шестикратного значения длины лампы (без цоколя), но не менее 1 м для разрядных ламп высокого давления мощностью до 100 Вт и не менее 1,5 м для разрядных ламп мощностью свыше 400 Вт. Для трубчатых ламп накаливания и люминесцентных — не менее I, 2-кратного значения общей длины лампы.
ГОСТ 17616-82 Стр. 11
2.1.1.2. Диаметр измерительного отверстия не должен превышать Vie диаметра фотометрического шара.
Для фотометрических шаров, предназначенных для измерения светового потока сверхминиатюрных ламп, допускается диаметр измерительного отверстия, равный ‘/< диаметра фотометрического шара.
2.1.1.3. Светорассеивающее стекло должно устанавливаться в измерительном отверстии в плоскости, касательной к поверхности фотометрического шара. Поверхность светорассеинаюшего ст’екла, обращенная к внутренней стороне фотометрического шара, должна быть матовой.
Пропускание с вето рассеивающих стекол должно быть неселективным в видимой области спектра. Отступление от нейтральности коэффициента евстопропускания свсторассеивающего стекла в диапазоне длин волн X—380—760 нм не должно превышать 5%.
Метод оценки отступления от нейтральности приведен н справочном приложении 2.
Распределение пропущенного света свсторассеивающего стекла должно быть рассеянным. Стекло не должно флуоресцировать.
В качестве светорассеивающих стекол рекомендуется применять стекла iMC 23 толщиной 1—3 мм и МС 19 толщиной 2—4 мм.
2.1.1.4. Экран фотометрического шара но своим размерам и местоположению по отношению к измерительному отверстию дбл-жен обеспечивать защиту измерительного отверстия от прямых лучей лампы.
Размеры экрана должны быть подобраны так, чтобы обеспечивалось возможно наименьшее затенение поверхности фотометрического шара. Диаметр теки не должен превышать двойного диаметра измерительного отверстия.
Экран должен находиться от источника света на ‘/г—*/з расстояния между лампой и измерительным отверстием, а также должен быть расположен перпендикулярно осн. проходящей через центр измерительного о*верстня и световой центр источника света. Размеры и форма экрана должны соответствоиать типу измеряемых ламп.
2.1.1.5. Для учета влияния на результат измерения приспособлений (неактивных элементов), находящихся в фотометрическом шаре, внутри шара должна устанавливаться вспомогательная лампа накаливания, расположенная на противоположной стороне от измерительного отверстия. Установка вспомогательной лампы необязательна при измерениях однотипных ламп. Перед вспомогательной Via м пой должен устанавливаться непрозрачный экран, препятствующий попаданию ее излучения на измеряемую, контрольную или светоизмерительную лампы и измерительное отверстие.
Вспомогательная лампа должна обладать стабильными электрическими и световыми параметрами. Требования к источнику пи-
Стр. 12 ГОСТ 17616-83
тания и вольтметру для вспомогательной лампы должны удовлетворять требованиям разд. I.
2.1.1.6. Приспособление для установки и включения ламп следует окрашивать белой эмалевой краской с коэффициентом отражения не ниже 0,8. Экраны и устройства для поддержки их внутри фотометрического шара должны быть окрашены той же краской, что и вся внутренняя поверхность шара. Расположение этих приспособлений в пределах одной серии измерении не должно изменяться.
2.1.1.7. Внутренняя поверхность фотометрического шара должна быть окрашена иеселективной матовой краской, согласно рекомендуемому приложению 3.
Коэффициент отражения должен быть не ниже 0,8. Разница между коэффициентами отражения в разных частях шара в процессе эксплуатации не должна превышать 3%.
Селективностью окраски можно пренебречь, если цветовая температура светоизмерительной лампы (2800 К), помешенной внутри фотометрического шара, измеренная через измерительное отверстие вместе со снеторассснвающнм стеклом, изменяется не более чем на 200 К для ламп накаливания и на 100 К — для разрядных ламп.
При изменении температуры более указанной выше вводят поправочный множитель С\. учитывающий селективность окраски, который вычисляют по формуле
Х-ТМ> >.-?«>
S
В1Л(Л)-Г(Х.)ДХ
Х-Ш *-3*0
где <р(Х)с*, <р(А)пз — относительное спектральное распределение энергии излучения светоизмерительной и измеряемой лама соответственно; У(Л)— относительная спектральная световая
эффективность;
А (X) — —— Функция влияния селективности окраски фотометрического шара; ф’ (Я)св— относительное спектральное распределение энергии излучения светоизмери
тельной лампы после многократных отражений в фотометрическом шаре; ф(>.)св; ф’РОсо, величины справочные (см. справочные
* приложения 4, 5);
р(>.) — спектральный коэффициент отражения
окраски фотометрического шара;
ГОСТ 17616-82 Cip. 13
ДЯ— выделяемый спектральный интервал измерения, нм.
Метод оценки селективности окраски фотометрического шара приведен в справочном приложении 6.
2.1.2. Приемник излучения (преобразователь излучения)
2.1.2.1. В качестве приемников излучения применяют корригированные под кривую относительной спектральной световой эффективности электровакуумные или полупроводниковые приемники излучения.
2.1.2.2. При отличии спектральной чувствительности приемника
излучения от относительной спектральной световой эффективности по 1’ОСТ 8.332 — 78 поправочный множитель Сг вычисляют по формуле ,
>. -700 >.-7Г(0
S ф(Я)са-5(Ь)-Л\- S
г _ И)__>38»
А-7ГЮ < И)
* — ИЯ J.-A-i ,
где S(A) — относительная спектральная чувствительность прием
ника излучения.
2.1.2.3. Стабильность работы приемника.
Для обеспечения воспроизводимости измерений необходимо предварительное освещение приемника излучения в течение 0,5—I ч при рабочей освещенности. Процесс предварительного освещения. повторяется после перерыва в работе в течение I ч и при увеличении уровня рабочей освещенности более чем в трн рала.
Изменение чувствительности при длительном воздействии постоянного светового потока (утомляемость приемника) не должно превышать 2% при освещенности на поверхности приемника излучения без корригирующего светофильтра, равной 200 лк.
2.1.2.4. Для измерения фототока должны применяться электроизмерительные приборы класса точности не ниже 1,0 с внутренним сопротивлением, обеспечивающим прямую пропорциональную зависимость между освещенностью приемника излучения и фототоком в диапазоне измеряемых величин.
Отклонение от прямой пропорциональной зависимости допускается не более ±1% при изменении освещенности в два раза. При отклонении от пропорциональности более чем на ±1% следует вводить поправки, соответствующие графику зависимости фототока от освещенности приемника излучения.
Чувствительность электроизмерительных приборов подбирают так, чтобы отсчет при заданном пределе измерения был не менее половины всей шкалы.
При измерении ламп с большим разбросом световых параметров допускается снимать отсчет, начиная с ‘/э шкалы прибора.
Стр. 14 ГОСТ 17616—8J
2.1.2.5. Приемники излучения должны проверяться не менее одного раза в два года по методике, указанной в справочном приложении 7.
2.1.3. Нейтральные светофильтры
2.1.3.1. Для расширения пределов измерения могут применяться нейтральные светофильтры.
Интегральный коэффициент пропускания светофильтра опре-‘ деляют непосредственно в условиях применения: и фотометрическом шаре или на фотометрической скамье.
2.1.3.2. При использовании нейтральных светофильтров для измерения ламп вводят поправочный множитель Сз, учитывающий имеющуюся селективность нейтрального светофильтра, который вычисляют по формуле
Я.-7ЗД
— • S vWwVW-.tt
г ?—ЗЙ0_>.-ЗЦ1
?.-7б0 >,-.чв » (о)
2 ф(Х)£,.У(Х).ДЛ. £ — V
>.-*0 ).-ЗВ0
где т(л) — спектральный коэффициент пропускания нейтрального светофильтра.
2.1.3.3. В качестве нейтральных светофильтров рекомендуется применять стеклянные светофильтры НС 7, НС 8. НС 9, НС 10 по ГОСТ 9-111-81.
2.1.3.4. Интегральный коэффициент пропускания должен быть определен согласно обязательному приложению 8.
2.1.4. Светоизмерительные лампы накаливания
2 1.4.1. Для световых измерений должны применяться образцовые светоизмерительные лампы 111 разряда или рабочие светоиз
мерительные лампы по ГОСТ 10771-82. имеющие свидетельства поверки.
2.1.4.2. Перед измерением светоизмерительные лампы необходимо промывать дистиллированной водой но ГОСТ 6709-72, этиловым спиртом по ГОСТ 59G2—67 и протирать чистой и мягкой тканью.
Б процессе измерений необходимо брать светоизмерительные лампы только через чистую и мягкую ткань. Перед снятием отсчета они должны гореть на постоянном или переменном токе при напряжении, которое записано в их свидетельстве поверки, с целью стабилизации световых и электрических параметров: вакуумные — не менее 4 мин, газополные — не менее 7 мин.
2.1.4.3. Учет времени горения.
Следует вести текущий учет времени горения применяемых светоизмерительных ламп по журналу или протоколу с указанием даты, времени горения и подписи лица, производящего измерения.
2.1.4.4. Периодическую поверку светоизмерительных ламп (рабочих и образцовых III разряда) проводят не реже одного р’аза
ГОСТ 1761ft—82 Cip. 15
в два гола при длительности горения за межповерочный интервал не более 25 ч для вакуумных ламп и не более 15 ч для газопол* ных.
Межповерочиый интервал должен быть сокращен в следующих • случаях:
при невоспроизводимое™ электрических характеристик свыше ±0,1 и ±0,15%, световых характеристик свыше ±0,5 и ±1.5% для вакуумных и газополных ламп соответственно;
при истечении указанной длительности горения лампы поверяются ранее установленного межповерочного интервала.
2.1.5. Светоизмерительные люминесцентные лампы
2.1.5.1. Для световых измерений люминесцентных ламп применяют светоизмерительные люминесцентные лампы соответствующей цветности по техническим условиям, утвержденным в установленном порядке.
Светоизмерительные люминесцентные лампы мощностью 20 Вт предназначены для эксплуатации при температуре окружающей среды от 293 до 298 К. а светоизмерительные люминесцентные лампы мощностью 40 Вт от 275 до 300 К.
2.1.5.2. Перед измерением светоизмерительные люминесцентные лампы необходимо промывать дистиллированной водой по ГОСТ 6709 -72 и этиловым спиртом по ГОСТ 5962- -67 и протирать чистой и мягкой тканыо. Лампы необходимо брать только через чистую мягкую ткань.
2.1.5.3. Учет времени горения проводят в соответствии с п. 2.1.4.3.
2.1.5.4. Светоизмерительные люминесцентные лампы должны храниться в индивидуальной упаковке в шкафу или в сухом непыльном помещении с постоянной температурой.
2.1.5 5. Периодическую поверку светоизмерительных люминесцентных ламп проводят одни раз в год при общем времени горения более 50 ч один раз в два года при общем времени горения не более 50 ч.
2.1.6. Контрольные лампы
Для градуировки фотометрических установок, предназначенных для текущих измерений, допускается применять контрольные лампы того же типа, что и измеряемые, со стабильными параметрами.
2.1.6 1. Отбор контрольных ламп.
Лампы, предназначенные для использования в качестве контрольных, должны отбираться из ламп текущего выпуска. Отобранные лампы должны соответствовать стандартам или техническим условиям на конкретные типы ламп.
2.1.6.2. Отжиг контрольных ламп.
Контрольные лампы накаливания должны подвергаться отжигу в течение времени, равного 10% средней продолжительности горения, контрольные разрядные — не менее (200 —300) ч.
Стр. 16 гост 17616-aj
2.1.6.3. В качестве контрольных ламп используют те лампы, сходимость световых параметров которых после отжига не превышает ± 1 %.
Сходимость световых параметров определяется как среднее квалратическое отклонение из пяти измерений, проведенных не менее чем через 24 ч.
2.1.6.4. Контрольные лампы должны проверяться по светоизмерительным лампам периодически: лампы накаливания — через отрезки времени, не превышающие 3% средней продолжительности горения и не реже одного раза в год; разрядные — одни раз в год при общем времени горения более 50 ч и один раз в два года при общем времени горения не более 50 ч.
2.1.6.5. Эксплуатация контрольных ламп должна проводиться в соответствии с пн. 2.1.4.2; 2.1.5.2; 2.1.5.4. а учет времени горения — в соответствии с и. 2.1.4.3.
2.2. Общие требования к проведению измере-я и й
2.2.1. Измерения должны проводиться в следующих климатических условиях:
температура окружающей среды — (298-410) К;
относительная влажность воздуха — не более 80%;
атмосферное давление — (84- 106) кПа (630- 800 мм рт. ст.).
Измерения люминесцентных ламп должны проводиться при температуре окружающей среды от 293 до 300 К.
2.2.2. Колебания температуры внутри шара во время измерений должны составлять не более ±2 К.
2.2.3. Контроль температуры внутри шара должен проводиться термометром в непосредственной близости от измерительного отверстия. Термометр следует защищать от прямого излучения лампы.
2.2.4. Во время измерений лампы накаливания и разрядные лампы высокого давления должны находиться в вертикальном положении. цок




