Резцы алмазные для профилирования червячных шлифовальных кругов. Технические условия
Заменяет

Страница 1

Страница 2

Страница 3

Страница 4

Страница 5

Страница 6

Страница 7

Страница 8

Страница 9

Страница 10

Страница 11
mti-n ^ f
ГОСУДАРСТВЕННЫЙ СТАНДАРТ СОЮЗА ССР
РЕЗЦЫ АЛМАЗНЫЕ ДЛЯ ПРОФИЛИРОВАНИЯ ЧЕРВЯЧНЫХ ШЛИФОВАЛЬНЫХ КРУГОВ
ТЕХНИЧЕСКИЕ УСЛОВИЯ ГОСТ 17368-79
Издание официальное Е
ГЬСУДАРСПЕННЫЙ КОМИТЕТ СССР ПО СТАНДАРТАМ
■ * 2 »
■УДК 631.9.0257:006.354 Группа Г25
•ГОСУДАРСТВЕННЫЙ СТАНДАРТ СОЮЗА ССР
РЕЗЦЫ АЛМАЗНЫЕ ДЛЯ ПРОФИЛИРОВАНИЯ ЧЕРВЯЧНЫХ ШЛИФОВАЛЬНЫХ КРУГОВ
ГОСТ
17368—79*
Взамен
ГОСТ 17360-71
Т*1МИЧ««ММв условия
Diamond tools for profile of abra>ive hobbing wheels. Technical conditions
Постановлением Государственного номитата СССР по стандартам от 31 амеере 1979 г. И* 367 срок введения установлен
с 01.01.00
( Проварен а 1904 г. Постановлением Госстандарта от 19.05ЛЛ НУ 1761 «рок действие продлен
до 01.01.90
Несоблюдение стемдарта преследуется по аакому
Настоящий стандарт распространяется на алмазные резцы для профилирования червячных шлифовальных кругов на зубошлифовальных станках. Стандарт устанавливает требования к продукции, изготовляемой для нужд народного хозяйства и для экспорта. Установленные настоящим стандартом показатели технического уровня предусмотрены для высшей категории качества.
(Измененная редакция, Изм. 1).
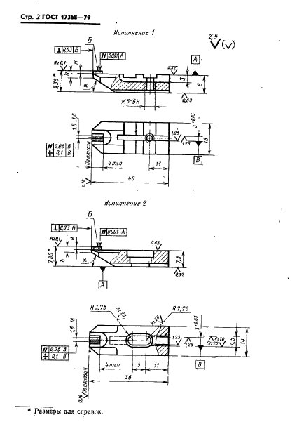
1. КОНСТРУКЦИЯ И ОСНОВНЫЕ РАЗМЕРЫ
1.1. Конструкция и основные размеры резцов должны соответствовать указанным на чертеже и в таблице.
Перепечатка воспрещен*
Издание официалаиое ★
Е
* Переиздание (декабрь 1984 г.) с Изменением AS /,
.утвержденным в мае 1984 г. (МУС 9—84).
® Издательстао стандартов, 1985
Стр. 2 ГОСТ 173М-7*
б
ГОСТ t73«S—79 Стр. 3
|
Размеры в мм |
||||||||||||||||||||||||||||||||||||||||||||||||||||||
|
||||||||||||||||||||||||||||||||||||||||||||||||||||||
|
Пример условного обозначения резца исполнения 1 для диапазона модулей св. 0,5 до 1,0 мм: 3908 0013 ГОСТ 17368- 79 |
||||||||||||||||||||||||||||||||||||||||||||||||||||||
г ТЕХНИЧЕСКИЕ ТРСКОЯАНИЯ
2.1. Резиы должны изготовляться в соответствии с требованиями настоящего стандарта по рабочим чертежам, утвержденным в установленном порядке.
2.2. Резиы должны состоять из металлической державки и закрепленного d ней кристалла алмаза.
2.3. Для изготовления резцов должны применяться природные технические алмазы VII группы, подгрупп н, н-г массой 0,61 — 1,10 карата или XXVI группы, подгрупп г. г-/ массой 0,31—0,85 карата.
(Измененная редакция, Изм. № I).
2.4. На рабочей поверхности алмаза не допускаются трещины, сколы и выкрашивания, видимые при увеличении 25*.
2.5. Державка резцов должна изготовляться из стали марки 40Х или 12ХНЗА по ГОСТ 4543-71.
2.6. На поверхности державки не допускаются следы коррозии, раковины, забоины, заусенцы, видимые невооруженным глазом.
Примечание. Внешний внд резца для экспорта должен соответствовать контрольному образцу-эталону, согласованному с внешнеторговой орга-
циздЦНСН
2.7. Резьба — по ГОСТ 9150-81, ГОСТ 24705- 81.
Допуски на резьбу — по ГОСТ 16093-81.
2.8. Неуказанные предельные отклонения линейных размеров: ±1Д!_по ГОСТ 25346-82
Стр. 4 ГОСТ 17JM-7*
2.9. Неуказанные предельные отклонения угловых размеров по степени точности ATI 4 СТ СЭВ 178—75.
2.10. Крепление алмаза н державке должно быть надежным, исключающим его графитизацию.
1. ПРАВИЛА ПРИЕМКИ
3.1. Для проверки соответствия резцов требованиям настоящего стандарта предприятие-изготовитель должно проводить приемочный контроль и периодические испытания.
3.2. Приемочному контролю на соответствие требованиям пп. 1.1, 2.4, 2.в подвергаются все резцы; на соответствие требованиям пп. 2.7—2.9—20% от партии, но не менее 2 шт.
Партия должна состоять из резцов одного типоразмера, одновременно предъявленных к приемке по одному документу.
3.3. При неудовлетворительных результатах приемочного контроля хотя бы но одному из показателей, проводят повторную проверку на удвоенном количестве резцов. Результаты повторного контроля являются окончательными и распространяются на всю партию.
3.4. Периодическим испытаниям на работоспособность и на соответствие требованиям п. 6.2 должны подвергаться резцы в количестве 2% от партии, но не менее 2 шт.
3.5. Периодические испытании должны проводиться не реже одного раза в год по ГОСТ 15.001-73.
4. методы КОНТРОЛЯ И ИСПЫТАНИЙ
4.1. Размеры резцов контролируют универсальными измерительными инструментами.
4.2. Контроль резцов на соответствие требованиям п. 2.4 производят при увеличении 25х.
‘ 4.3. Качество поверхности державки резца контролируют ос
мотром.
4.4. Шероховатость поверхности рабочей части алмаза контролируют на интерференционном микроскопе.
4.5. Шероховатость поверхности державки проверяют по контрольному образцу.
4.6. Испытания на работоспособность резцов проводят на зу-бошлифовальиых станках или специальных станках для правки червячных кругов, соответствующих установленным для них нормам точности и жесткости.
4.7. Правку червячного шлифовального круга наружным диаметром 350—450 мм, высотой 80—100 мм, с диаметром посадочного отверстия 203 мм. характеристикой 25А 12 П СМ2 7 К5 производят при следующем режиме:
ГОСТ 17368-79 Стр. 5
поперечная подача, мм/ход……0.02
тангенциальная подаче вдоль профиля витка, мм 1.5 съем абразива по профилю круга за одну правку, мм,
не более ………..0,1
частота вращения шлифовального круга, мин-‘ . . 25—71
4.8. После испытания на рабочей поверхности резцов не должно быть трещин, сколов и выкрашиваний, видимых при увеличении 25х, и они должны быть пригодны для дальнейшей работы.
5. МАРКИРОВКА, УПАКОВКА, ТРАНСПОРТИРОВАНИЕ И ХРАНЕНИЕ
5.1. На боковых сторонах и торце державки резца должно быть четко нанесено:
а) товарный знак предприятия-изготовителя;
б) (Исключен, Изм. Jft 1).
я) интервал модулей профилируемых шлифовальных червячных кругов;
г) порядковый номер резца по системе нумерации предпрня-тн я • из готов и тел я.
Примечание. По требованию внешнеторговой организации допускается надпись «USSR».
5:2. Каждый резец должен сопровождаться документом со сведениями по п. 5.1. Дополнительно указывается:
а) наименование изделия;
б) исходная масса алмаза в каратах;
в) дата изготовления;
г) штамп технического контроля;
д) масса алмаза перед закреплением в державку.
Примечание. Для ^спорта указываются сведения согласно заьаз-на-ряду внешнеторговой организации.
(Измененная редакция, Изм. Л* 1).
5.3. (Исключен, Изм. № 1).
5.4. Резцы в потребительской таре должны быть плотно уложены в групповую тару.
5.5. На поверхности групповой тары должны быть нанесены: наименование и товарный знак предприятия-изготовителя; наименование изделия;
количество изделий; общая исходная масса в каратах; обозначение настоящего стандарта; дата упаковки; штамп упаковщика.
Примечание. Для экспорта указываются сведения согласно заказу-наряду внешнеторговой организации.
Cip. 6 ГОСТ 17168-7»
5.6. Резцы в групповой таре должны быть плотно уложены в транспортную тару — ящики по ГОСТ 5959-80.
Допускается применение другой упаковки, обеспечивающей сохранность резцов при транспортировании. ,
Резцы, предназначенные для экспорта, должны быть упакованы в ящики по ГОСТ 24634-81.
5.7. Габаритные размеры ящиков должны быть не более 160Х X 160×62 или 210x210x60 мм.
5.8. Масса брутто— не более 10 кг.
5.9. На каждое грузовое место должна быть нанесена транс-лортнан маркировка но ГОСТ 14192-77 с указанием основных, дополнительных, информационных надписей и манипуляционных знаков. «Осторожно, хрупкое!» и «Боится сырости».
Для экспорта указываются сведения согласно заказу-наряду внешнеторговой организации
5.10. Резцы, упакованные в соответствии с ли. 5.6—5.9, должны отправляться почтовыми посылками.
Для экспорта — в соответствии с требованиями заказа-наряда внешнеторговой организации.
5.11. Остальные требования к упаковке и хранению — по ГОСТ 18088-83.
5.4—5.11. (Введены дополнительно, Изм .»6 I).
6. ГАРАНТИИ ИЗГОТОвИТЕЛЯ
6.1. Изготовитель должен гарантировать соответствие резцов требованиям настоящего стандарта при соблюдении условий эксплуатации, транспортирования и хранения.
6.2. Гарантийная стойкость резцов между переточками при’ максимальном их износе 0,15 мм и режиме правки по и. 4.7 должна быть 27 правок червячного шлифовального круга.
Количество переточек — 5.
(Измененная редакция, Изм. № I).
6.3. Расход алмаза на одну npaiycy должен быть не более 0,503 мг до 1 октября 1987 г. и 0,429 мг—с 1 октября 1987 г.
(Введен дополнительно, Изм. № 1).
Редактор Р. Г. Говердовская Технический редактор Э. В. Митяй Корректор М. М. Герасименко
Сдано в «об. IS.Cli.Mi Поди, о печ- M.M&S 0.5 уел. п г.. 0.5 уел. кр.-отт. 0.57 УЧ.-В1Д. я. Тираж 80Q0 Цен» 3 коп.
Орде** «Знак Почет-*» И 1лат*лы.-т»<> стандарт»* I2W<0. Москм. ГСП. ?fofK>i>pecnvi«»H« пер.. д.. 3.
Вилиию««** шпографи» Н>д»гг.1ьст»а Стащило* ул. Мимааут». 12/14. 3»«. 2133
Группа Г25
Изменение Лк 2 ГОСТ 173в8—79 Резцы алмазные для профилировании червяч-ных шлифовальных кругов. Технические условия
Утверждено н введено в действие Постановлением Государственного комитета СССР по стандартам от 17.11.88 3729
Дата введения 01.0l.9i>
Вводили часть». Последний абзац иск/почить.
Пункт 1.1. Чертеж заменить новым
|
Исполнение 2 |
(Продо.якзни? см. с. !26)
:25
(Продолжение изменения к ГОСТ 17368-79) таблицу и пример условного обозначения изложит!, в новой редакции-
|
Ре»чмдл* npo(Jni.i*pooeHrii 1П/>И$<»М.’1ЬНЫ1 иругоп при обрлОэтке зувчлемт колес 5 * и пыше степеней точноет* |
1’»зц« дли п?оф*лчропзшт Ш.1л<]07лльчих кругвп при вОрабозке зубитых колес 6 я 7-Й ctesieiicn точное—л |
А, К ■ 1 X |
ИИ i О а а |
4 ±2* |
Модуль ирафмли» руехого юлюЗо-падмюю круга, им |
||
|
Исполнение t| Исполнило а |
Исполнение || Исголненис 1 |
||||||
|
О&оночелис реац^н |
|||||||
|
3908 -0011 |
3908 0012 |
3908-0021 |
3908-0022 |
0,3 |
-0.1 |
28е |
От 0.4 до 0,5 |
|
3908 -0013 |
3908 -0014 |
3908-0023 |
3908-0024 |
0,5 |
-0,15 |
32° |
Св. 0,5 до 1,0 |
|
3908-0015 |
3908-0016 |
3908—0025 |
3908-0026 |
С». 1 ,о до 2.5 |
|||
|
3908 -0017 |
3908—0018 |
3908—0027 |
3908-0028 |
Со. 2,5 до 5.0 |
|||
|
3908-0019 |
3908-0020 |
3908-0029 |
3903—0030 |
1.3 |
35е |
Сп. 5,0 до 8,0 |
|
Пример условного обозначения резца для профилирования шлифовальных кругов при обработке зубчатых колее 5-й и выше степеней точности исполнения |, для диапазона модулей св. 0.5 до 1.0 мм:
3908-0013 ГОСТ 17368-79.
Пункты 2.2, 2.7, 29. 2.10 исключить.
Пункт 2.4. Исключить слова- «видимые при увеличении 25 х ».
Пункт 2.8. Исключить слова, «по СТ СЗВ 1-*5—75».
Раздел 2 дополнить пунктами 2.П 2 И: «2 11 Допуск параллельности поверхности Б относительно поверхности А не должен превышать 0.001 мм — для .зубчатых колес 5.й к выше степеней точности. 0.004 мм — для зубчатых колос 6 и 7-й степеней точности.
2 12. Допуск наралдельноои поверхности С относительно поверхности В не должен превышать 0,05 мм — для зубчатых колес 5-Л и выше степеней точности. 0.1 мм— для зубчатых колес 6 и 7-й степеней точности.
2 13. Допуск симметричности оси поверхности 6 относительно оси поверхности В не должен превышать 0,1 мм — для зубчатых колес 5 й и выше сге. печей точности, 0,15 мм — для зубчатых колес 6 и 7-й степеней точности.
2.14 Установленная наработка до отхаза резца должка быть не менее 28 правок шлиопа.7ьиого круга ПП400Х80Х 203 24А 25 САМ 7 5 К ГОСТ 2424-83 при максимальном износе 0,15 мм н режиме правки по п. 4.7. Количество переточек —не менее 5»
Ра «ел 3 изложить в новой редакции.
«.1. Приемка
3 1 Для проверки соответствия роиов -требованиям настоящего стандарта проводят приемочный хонтроль и периодические испытания.
32 Приемочному контролю на соответствие требованиям пп. I I. 2.4, 2.6. 2 11—2.13 подвергают псе |>езаы, на соответствие требованиям п. 2 8—20 % партии, но не менее 2 шт.
Пар1ия должна состоять из резцов одного типоразмеря, одновременно предъявленных к приемке по одному документу.
(Продолжение см. с, 127)
128
(Продолжение изменения п ГОСТ 1736Я—79)
Сели установлено несоответствие требованиям стандарта по п. 2.8, то проводят повторный контроль на удвоенном количестве резцов.
При наличии дефектов в повторной выборке партию не принимают.
3.3. Периодическим испытаниям на соответствие требованиям пп. 2.13 и 4.6 подвергают не мсисе 2 резцов не реже раэа в год
Допускается проводить испытания у потребителя в производственных условиях».
Пулкш 4.2, 4 8. Заменить значения: 25′ на 30 ‘ •
Пункт 4.4. Заменить слова: «ка интерференционном микроскопе» на «под микроскопом, сравнивая с контрольным образцом».
(Продолжение с.н с. 128)
(Продолжение изменения к ГОСТ 17368-79)
Пункт 4.7 до слов «при следующем режиме» изложить а новой редакции; «Периодические испытания ротон пропилят правкой шлифовального круга»; .■амеиигь значение: 25-71 на 50; лопОлнЦгь словаки «охлаждение, л/мик-… 15—20».
Пункты 5.1. 5.2. 5.5. Примечание исключить.
Пункт 5.3 изложить и новой редакции: «53. Упаковка, транспортирование
н Х|>зис«1ие — по ГОСТ 18088 -83».
Раздел 6 исключить.
(ИУС № 2 1989 Г.)


