Изделия огнеупорные динасовые для электросталеплавильных печей. Технические условия

Страница 1

Страница 2

Страница 3

Страница 4

Страница 5

Страница 6

Страница 7

Страница 8

Страница 9

Страница 10

Страница 11

Страница 12

Страница 13

Страница 14

Страница 15

Страница 16

Страница 17
ОГНЕУПОРЫ
И ОГНЕУПОРНЫЕ ИЗДЕЛИЯ
ГОСУДАРСТВЕННЫЕ СТАНДАРТЫ СОЮЗА ССР
ОГНЕУПОРЫ И ОГНЕУПОРНЫЕ ИЗДЕЛИЯ
Издание официальное
ИЗДАТЕЛЬСТВО СТАНДАРТОВ Москва — 1975
ГОСТ 1566-71
Кирпич опорный
Таблица 8
|
о, я « ч * Si о г* |
а |
6 |
6t |
в |
01 |
г |
а |
Объем в см3 |
Масса в кг |
Назначение изделий |
|
X 5 |
в мм |
|||||||||
|
17 |
210 |
93 |
180 |
70 |
65 |
227 |
67°30′ |
2005 |
3,8 |
Для кладки опор сводов толщиной 230 мм |
|
18 |
270 |
108 |
220 |
71 |
67 |
292 |
67°30′ |
3145 |
6,0 |
Для кладки опор сводов тол-щиной 300 мм |
Примечания:
1. Для устройства электродных отверстий и кладки опор сводов допускается изготовление изделий других форм и размеров с соблюдением требований настоящего стандарта.
2. Определение количества изделий для кладки колец электродных отверстий при различном сочетании изделий производится в соответствии с рекомендуемым приложением 1.
3. Примерная схема кладки свода в центральной части электросталеплавильной печи емкостью 8—30 т приведена в рекомендуемом приложении 2.
78
УДК 666.76(083.74)
ОТ ИЗДАТЕЛЬСТВА
Сборник «Огнеупоры и огнеупорные изделия» содержит стандарты, утвержденные до 1 декабря 1974 г.
В стандарты внесены все изменения, принятые до указанного срока. Около номера стандарта, в который внесено изменение, стоит знак *.
Текущая информация о вновь утвержденных и пересмотренных стандартах, а также о принятых к ним изменениях публикуется в выпускаемом ежемесячно «Информационном указателе стандартов».
Издательство стандартов, 1975
Группа И21
ГОСУДАРСТВЕННЫЙ СТАНДАРТ СОЮЗА ССР
ИЗДЕЛИЯ ОГНЕУПОРНЫЕ ДИНАСОВЫЕ (ТРИДИМИТОКРИСТОБАЛИТОВЫЕ) ДЛЯ ЭЛЕКТРОСТАЛЕПЛАВИЛЬНЫХ ПЕЧЕЙ
ГОСТ
1566-71
Refractory silica (tridimithocrystobalite) products for electrical steelmelting furnaces
Взамен ГОСТ 1566-50
Постановлением Государственного комитета стандартов Совета Министров СССР от 19/Х 1971 г. № 1746 срок введения установлен
с 1/1 1973 г.
Несоблюдение стандарта преследуется по закону
Настоящий стандарт распространяется на огнеупорные динасовые (тридимитокристобалитовые) изделия, предназначенные для кладки сводов и арок электросталеплавильных печей.
1. ФОРМА И РАЗМЕРЫ
1.1. Форма и размеры огнеупорных динасовых изделий должны соответствовать указанным на черт. 1—8 и в табл. 1—8.
Издание официальное
Перепечатка воспрещена
ГОСТ 1566-71
Кирпич прямой
Таблица 1
|
Номера |
а |
6 |
р |
Объем |
Масса |
1 Назначение изделий |
|
изделий |
в мм |
в см3 |
в кг |
|||
|
1 |
230 |
из |
40 |
1039 |
1,9 |
Для подбора замковых соединений |
|
2 |
230 |
113 |
65 |
1690 |
3,2 |
Для кладки рядов свода толщиной 230 мм в сочетании с клиновыми изделиями № 5 и 7 |
|
3 |
300 |
150 |
65 |
2925 |
5,6 |
Для кладки рядов свода толщиной 300 мм в сочетании с клиновыми изделиями № 6 и 8 |
Брусок
Черт. 2
Таблица 2
|
Номера |
e 1 |
6 1 |
е |
Объем в см3 |
Масса |
Назначение изделий |
|
изделий |
в мм |
в кг |
||||
|
4 |
зоо |
100 |
65 |
1950 |
3,7 |
Для кладки рядов свода толщиной 300 мм в сочетании с прямым изделием Ne 3 и с клиновым Ns 8 |
ГОСТ 1566-71
Клин торцовый двусторонний
Черт. 3
Таблица 3
|
W5* |
Я |
I 1 б , | |
1 в 1 |
1 |
Объем В см3 |
Масса в кг |
Назначение изделий |
|
Я Я Я |
в |
МЫ |
|||||
|
5 |
230 |
113 |
65 |
55 |
1560 |
3,0 |
Для кладки междуэлектрод-ных арок и сводов толщиной 230 мм в сочетании с прямым изделием Ns 2 и для кладки секторных рядов свода в сочетании с клиновым изделием № 9 |
|
6 |
300 |
150 |
65 |
55 |
2700 |
5.1 |
Для кладки междуэлектрод-ных арок и сводов толщиной 300 мм в сочетании с прямым изделием № 3 и для кладки секторных рядов сводов в сочетании с клиновым изделием № 10 |
73
Клин переходный двусторонний
ГОСТ 1566-71
Черт. 4
Таблица 4
|
«* §* Ч Я S |
а |
б |
8 |
Объем в см3 |
Масса в кг |
Назначение изделий |
|
|
Si |
В |
мм |
|||||
|
7 |
230 |
113 |
102 |
65 |
1600 |
3,1 |
Для кладки секторных рядов свода толщиной 230 мм в сочетании с прямым изделием № 2 |
|
8 |
300 |
150 |
135 |
65 |
2780 |
5,3 |
Для кладки секторных рядов свода толщиной 300 мм в сочетании с прямыми изделиями № 3 и 4 |
74
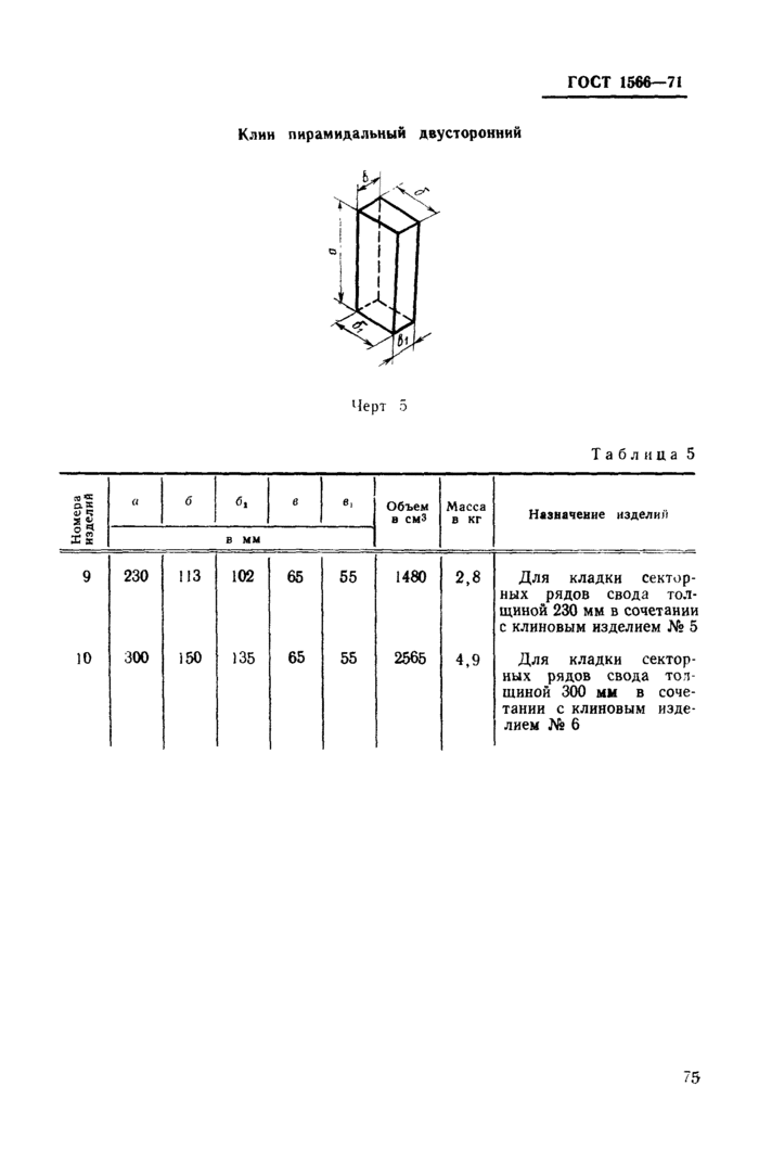
ГОСТ 1566-71
Клин пирамидальный двусторонний
Черт 5
Таблица 5
|
со « а* О Ч 2 % |
а |
б |
«1 |
в |
в. |
Объем в см3 |
Масса в кг |
Назначение изделии |
|
О *5 Хх |
в мм |
|||||||
|
9 |
230 |
113 |
102 |
65 |
55 |
1480 |
2,8 |
Для кладки секторных рядов свода толщиной 230 мм в сочетании с клиновым изделием № 5 |
|
10 |
300 |
150 |
135 |
65 |
55 |
2565 |
4,9 |
Для кладки секторных рядов свода толщиной 300 мм в сочетании с клиновым изделием № 6 |
75
ГОСТ 1566-71
Кирпич электродный
хг
Черт. 6
Таблица 6
|
ag <и Ч s <и й Ct |
а |
б |
в |
«1 |
Объем В см3 |
Масса а кг |
Н азн ачение изделий |
|
х S Jh s |
в |
мм |
|||||
|
11 |
230 |
100 |
82 |
47 |
1485 |
2,8 |
Для кладки колец электродных отверстий диаметром 270 мм и в сочетании с изделием № 12 для отверстий диаметром 305—440 мм сводов толщиной 230 мм |
|
12 |
230 |
100 |
88 |
62 |
1725 |
3.3 |
Для кладки колец электродных отверстий диаметром 475 мм и в сочетании с изделием № 11 для отверстий диаметром 305—440 мм сводов толщиной 230 мм |
|
13 |
300 |
110 |
96 |
63 |
2620 |
5,0 |
Для кладки внутренних полуколец электродных отверстий диаметром 420 мм и в сочетании с изделием № 14 для отверстий диаметром 450— 600 мм сводов толщиной 300 мм |
|
14 |
300 |
110 |
96 |
71 |
2760 |
5,2 |
Для кладки внутренних полуколец электродных отверстий диаметром 630 мм и в сочетании с изделием № 13 для отверстий диаметром 450—600 мм сводов толщиной 300 мм |
76
ГОСТ 1566-71
Кирпич электродный внешний
Таблица 7
|
*■Е ё 4) S н |
а |
б |
в |
е± |
т |
Объем В см3 |
Масса в кг |
Назначение изделий |
|
° ? X X |
в |
мм |
||||||
|
15 |
360 |
по |
96 |
63 |
7’36’ |
2145 |
4,1 |
Для кладки внешних полуколец электродных отверстий диаметром 420 мм и в сочетании с изделием № 16 для отверстий диаметром 450— 600 мм сводов толщиной 300 мм |
|
16 |
360 |
по |
96 |
71 |
7°36′ |
2260 |
4,3 |
Для кладки внешних полуколец электродных отверстий диаметром 630 мм и в сочетании с изделием № 15 для отверстий диаметром 450— 600 мм сводов толщиной 300 мм |
77
