Футляры деревянные. Общие технические условия
На нашем сайте можно бесплатно скачать Руководящий документ ГОСТ 14225-83 в удобном формате. Узнать актуальный статус документа «Футляры деревянные. Общие технические условия» на 2016 год.
Скрыть дополнительную информацию
Страница 1

Страница 2

Страница 3

Страница 4

Страница 5

Страница 6

Страница 7

Страница 8

Страница 9

Страница 10

Страница 11

Страница 12

Страница 13

Страница 14

Страница 15

Страница 16

Страница 17

Страница 18

Страница 19

Страница 20

Страница 21

Страница 22

Страница 23

Страница 24

Страница 25

Страница 26

Страница 27

Страница 28

Страница 29

Страница 30

Страница 31

Страница 32

Страница 33

Страница 34

Страница 35

Страница 36

Страница 37

Страница 38

Страница 39

Страница 40

Страница 41

Страница 42

Страница 43

Страница 44

Страница 45

Страница 46

Страница 47

Страница 48

Страница 49

Страница 50

Страница 51
ГОСТ 14225-83* Футляры деревянные. ООщие технические условия Стр. 1 из 52.
ГОСТ 14225-83
МЕЖГОСУДАРСТВЕННЫЙ СТАНДАРТ
ФУТЛЯРЫ ДЕРЕВЯННЫЕ
ОБЩИЕ ТЕХНИЧЕСКИЕ УСЛОВИЯ
Издание официальное
а\
ГО
(4
ИПК ИЗДАТЕЛЬСТВО СТАНДАРТОВ Москва
УДК 62-216.83:674:006.354 Группа Д7 j
МЕЖГОСУДАРСТВЕННЫЙ СТАНДАРТ
ФУТЛЯРЫ ДЕРЕВЯННЫЕ
гост
14225-83
Общие технические условия
Wooden cases.
General specifications
ОКСТУ 5370
Дата введения 01.01.85
Настоящий стандарт распространяется на деревянные футляры, предназначенные для упаковывания, транспортирования и хранения приборов, запасных частей, инструментов и принадлежностей массой до 80 кг.
Требования, изложенные в пп. 2.3, 2.6, 2.30, разд. 3, 4 и 5 настоящего стандарта являются обязательными, остальные — рекомендуемыми.
(Измененная редакция, Изм* № 2).
1. ТИПЫ, ОСНОВНЫЕ ПАРАМЕТРЫ И РАЗМЕРЫ
1.1. Футляры должны изготовляться с цельными или составными торцовыми и боковыми стенками, собранными в шип, следующих типов:
I — с выдвижной крышкой, для изделий массой до 5 кг (черт. 1 и 2);
II — с откидной или съемной крышкой для изделий массой до 80 кг (черт. 3);
III — с откидной объемной крышкой для изделий массой до 80 кг (черт. 4).
Допускается изготовлять футляры целиком из фанеры или с дном, крышкой из фанеры или древесно-волокнистой плиты и дощатым корпусом. Заготовки из фанеры или древесно-волокнистой плиты должны быть цельными.
1.2. Допускается в футлярах устанавливать внутренние перегородки — гнезда, вкладыши или другие дополнительные крепления и приспособления.
1.3. Внутренние размеры футляров должны устанавливаться в соответствии с требованиями ГОСТ 21140 и исходя из габаритных размеров и массы упаковываемых изделий.
1.4. Толщина досок торцовых, боковых стенок, дна и крышки должна выбираться по табл. 1.
Перепечатка воспрещена
Издание официальное ★
© Издательство стандартов, 1983 © ИПК Издательство стандартов, 1999 Переиздание с Изменениями
Система NormaCS® www.normacs.ru 24.02.2007 10:03:13
ГОСТ 14225-83 С, 2
Таблица 1*
Размеры в мм
С. 3 ГОСТ 14225-83
Продолжение табл. 1
Размеры в мм
|
Предельная масса в футляре, кг |
Толщина досок при внутренних размерах футляра |
||||||||||||||||
|
Длина до включ. |
Ширина или высота |
||||||||||||||||
|
50 |
100 |
150 |
200 |
250 |
300 |
350 |
400 |
450 |
500 |
550 |
600 |
650 |
700 |
750 |
800 |
||
|
40 |
500 |
22 |
16 |
13 |
13 |
9 |
9 |
9 |
9 |
9 |
9 |
9 |
_ |
— |
— |
— |
— |
|
800 |
— |
19 |
16 |
13 |
13 |
13 |
9 |
9 |
9 |
9 |
9 |
9 |
9 |
9 |
9 |
9 |
|
|
1200 |
__ |
22 |
19 |
16 |
16 |
13 |
13 |
13 |
13 |
13 |
9 |
9 |
9 |
9 |
9 |
9 |
|
|
45 |
500 |
22 |
16 |
13 |
13 |
9 |
9 |
9 |
9 |
9 |
9 |
9 |
|||||
|
800 |
— |
19 |
16 |
13 |
13 |
13 |
13 |
13 |
9 |
9 |
9 |
9 |
9 |
9 |
9 |
9 |
|
|
1200 |
— |
__ |
19 |
16 |
16 |
13 |
13 |
13 |
13 |
13 |
13 |
13 |
9 |
9 |
9 |
9 |
|
|
50 |
500 |
22 |
16 |
13 |
13 |
13 |
9 |
9 |
9 |
9 |
9 |
9 |
— |
— |
— |
— |
— |
|
800 |
— |
22 |
16 |
16 |
13 |
13 |
13 |
13 |
9 |
9 |
9 |
9 |
9 |
9 |
9 |
9 |
|
|
1200 |
— |
_ |
22 |
19 |
16 |
16 |
13 |
13 |
13 |
13 |
13 |
13 |
13 |
9 |
9 |
9 |
|
|
55 |
500 |
_ |
16 |
13 |
13 |
13 |
13 |
9 |
9 |
9 |
9 |
9 |
— |
— |
— |
— |
— |
|
800 |
— |
22 |
19 |
16 |
13 |
13 |
13 |
13 |
13 |
9 |
9 |
9 |
9 |
9 |
9 |
9 |
|
|
1200 |
— |
— |
22 |
19 |
16 |
16 |
16 |
13 |
13 |
13 |
13 |
13 |
13 |
13 |
9 |
9 |
|
|
60 |
500 |
_ |
19 |
16 |
13 |
13 |
13 |
9 |
9 |
9 |
9 |
9 |
|||||
|
800 |
— |
22 |
19 |
16 |
16 |
13 |
13 |
13 |
13 |
13 |
9 |
9 |
9 |
9 |
9 |
9 |
|
|
1200 |
_ |
_ |
22 |
19 |
19 |
16 |
16 |
13 |
13 |
13 |
13 |
13 |
13 |
13 |
13 |
13 |
|
|
65 |
500 |
_ |
19 |
16 |
13 |
13 |
13 |
13 |
9 |
9 |
9 |
9 |
— |
— |
— |
— |
— |
|
800 |
— |
— |
19 |
16 |
16 |
13 |
13 |
13 |
13 |
13 |
13 |
9 |
9 |
9 |
9 |
9 |
|
|
1200 |
— |
— |
— |
19 |
19 |
16 |
16 |
16 |
13 |
13 |
13 |
13 |
13 |
13 |
13 |
13 |
|
|
70 |
500 |
_ |
19 |
16 |
13 |
13 |
13 |
13 |
13 |
9 |
9 |
9 |
|||||
|
800 |
— |
— |
19 |
16 |
16 |
13 |
13 |
13 |
13 |
13 |
13 |
13 |
9 |
9 |
9 |
9 |
|
|
1200 |
— |
— |
_ |
22 |
19 |
26 |
16 |
16 |
16 |
13 |
13 |
13 |
13 |
13 |
13 |
13 |
|
|
75 |
500 |
— |
19 |
16 |
13 |
13 |
13 |
13 |
13 |
13 |
9 |
9 |
|||||
|
800 |
— |
— |
22 |
19 |
16 |
16 |
13 |
13 |
13 |
13 |
13 |
13 |
13 |
9 |
9 |
9 |
|
|
1200 |
— |
— |
— |
22 |
19 |
19 |
16 |
16 |
16 |
13 |
13 |
13 |
13 |
13 |
13 |
13 |
|
|
80 |
500 |
_ |
22 |
16 |
16 |
13 |
13 |
13 |
13 |
13 |
9 |
9 |
— |
— |
— |
— |
— |
|
800 |
— |
— |
22 |
19 |
16 |
16 |
13 |
13 |
13 |
13 |
13 |
13 |
13 |
13 |
13 |
13 |
|
|
1200 |
— |
— |
— |
22 |
19 |
19 |
16 |
16 |
16 |
16 |
13 |
13 |
13 |
13 |
13 |
13 |
|
При определении толщины досок футляров за расчетный размер принимают: для торцовых и боковых стенок — внутреннюю высоту футляров; для дна и крышки — внутреннюю ширину футляра. Допускается изготовлять футляры из досок наибольшей толщины, если разница между толщиной досок боковых стенок и толщиной досок дна и крышки не превышает одну градацию, если разница составляет две градации, то допускается принимать толщину досок боковых стенок, дна и крышки по средней градации.
(Измененная редакция, Изм. № 2).
1.5. Ширина досок для футляров типа I должна быть не менее 40 мм, для футляров типов II и III — не менее 60 мм.
1.6. На футлярах типов II и III с массой изделий свыше 20 кг допускается устанавливать полозья.
ГОСТ 14225-83 С. 4
Толщина и ширина полозьев должна выбираться по табл. 4.
|
Таблица 4 |
|
|
Предельная масса груза, кг |
Толщина и ширина полозьев, мм |
|
Св. 20 до 30 включ. |
16 х 25 |
|
» 30 » 40 » |
19 х 32 |
|
» 40 » 60 » |
25 х 40 |
|
» 60 » 80 » |
25 х 50 |
Концы полозьев должны быть скошены под углом 30е—45° на половину толщины.
Длина полозьев должна быть равна наружной ширине или длине футляра.
1.7. Толщина фанеры корпуса, листовых древесных материалов дна и крышки футляров должна соответствовать указанной в табл, 5.
|
Таблица 5 |
|||||||||||||||||||||
|
|||||||||||||||||||||
(Измененная редакция, Изм. № 1).
1.8. Предельные отклонения от размеров футляров и их деталей должны соответствовать квалите-ту 16 по ГОСТ 6449.1 — ГОСТ 6449.5.
2. ТЕХНИЧЕСКИЕ ТРЕБОВАНИЯ
2.1. Футляры должны изготавливаться по стандартам или конструкторской документации на футляры для конкретных видов продукции, разработанным в соответствии с требованиями настоящего стандарта.
(Измененная редакция, Изм. № 1).
2.2. Для изготовления футляров должны применяться пиломатериалы хвойных пород по ГОСТ 8486, ГОСТ 24454, мягких лиственных пород и березы по ГОСТ 2695, фанеры всех марок не
ниже сорта по ГОСТ 3916.1 и по ГОСТ 3916.2 и древесно-волокнистая плита по ГОСТ 4598. (Измененная редакция, Изм. № 2).
2.3. Влажность деревянных деталей должна быть не более 15 %, листовых материалов — 12 %.
2.4. По показателям качеств древесина досок и полозьев должна соответствовать нормам, указанным в табл. 6.
|
Таблица 6 |
||||||||
|
||||||||
С. 5 ГОСТ 14225-83
|
Продолжение табл. 6 |
|||||||||||||||||||||||||||||||||||||||||||||||||||||||||||
|
|||||||||||||||||||||||||||||||||||||||||||||||||||||||||||
Примечания:
1. Сросшиеся сучки диаметром до 20 мм не учитываются.
2. Отверстия от несросшихся, выпадающих, загнивших, гнилых и табачных сучков должны быть заделаны деревянными пробками на клею.
3. В шиповых соединениях, в местах крепления металлической арматуры сучки и трещины не допускаются.
4. Пороки древесины по ГОСТ 2140, не указанные в табл. 6, допускаются.
2.5. Доски и планки должны иметь параллельные стороны, отклонения от параллельности допускаются в пределах норм допускаемых отклонений по толщине и ширине. Торцы должны быть опилены под прямым углом.
ГОСТ 14225-83 С, 6
2.6. Шероховатость наружных поверхностей деталей футляров должна быть не более
200 мкм, а внутренних поверхностей досок и планок, а также кромок деталей из фанеры не более Rmimy 320 мкм по ГОСТ 7016. Допускается для окрашиваемых наружных поверхностей футляров применять детали с шероховатостью поверхности не более Яттж 320 мкм по ГОСТ 7016.
2.7. Доски торцовых, боковых стенок, дна и крышки должны соединяться по кромкам на гладкую фугу (соединение К-6), в четверть (соединение К-2) или в паз и гребень (соединение К-3), а корпус футляров в шип (соединения УЯ-1, УЯ-2) по ГОСТ 9330-76. Шиповые соединения должны быть плотными.
2.8. Повреждение четверти, паза или гребня допускается на протяжении не более ‘/|0 длины доски, если это повреждение не нарушает требуемой плотности соединения сопрягаемых деталей.
Сквозные просветы между досками, собранными в четверть или в паз и гребень, не допускаются, неплотность соединения между кромками профилированных досок допускается не более 2 мм, а досок, соединенных на гладкую фугу, — не более 1 мм.
2.9. В местах соединения шипов допускаются зазоры шириной до 1 мм, но не более 4 на сторону (8 на угол), которые должны быть заполнены клеем. Шиповые соединения должны быть зачищены.
2.10. Допускаются сколы шипов не более ‘/3 их толщины и не более 1 шт. на угол с обязательной заделкой их вставками на клею и с последующей подшлифовкой.
2.11. Крышка должна плотно прилегать к корпусу футляра по всему периметру.
Допускается односторонний зазор между стенкой корпуса и крышкой не более 2 мм и смещение
крышки относительно корпуса не более 1 мм.
2.12. Ребра и углы футляров без металлических уголков должны быть притуплены радиусом не более 3 мм. На углах футляров с уголками должна быть снята фаска 3—5 мм х 45°.
2.13. При сборке щитов, корпуса футляров и креплении дна к корпусу должен применяться клей мездровый по ГОСТ 3252, костный по ГОСТ 2067, казеиновый по ГОСТ 3056, дисперсия поливи-нилацетатная гомогюлимерная грубодисперсная по ГОСТ 18992 или на основе синтетических смол, смола карбамидоформальдегидная марки КФ-МТ по ГОСТ 14231, клей резорциноформальдегидный марки ФР-12 и мочевиноформальдегидный марки К-17.
(Измененная редакция, Изм. № 1,2).
2.14. В футлярах типа I на крышке должна выбираться выемка для захвата руками.
Допускается устанавливать на крышке планки ручки.
2.15. Дно футляров типов I—III, съемная крышка футляров типа II и крышка футляров типа III должны крепиться к корпусу шурупами по ГОСТ 1145 или гвоздями по ГОСТ 4034.
Доски дна и крышки шириной до 60 мм должны крепиться к корпусу одним гвоздем или шурупом, шириной от 60 до 120 мм — двумя гвоздями или шурупами с каждого конца.
При креплении дна и крышки из фанеры и древесно-волокнистой плиты расстояние между гвоздями или шурупами должно быть для футляров с массой груза:
до 30 кг — 100—150 мм;
св. 30 до 80 кг — 70—100 мм.
Головки шурупов должны быть утоплены в древесину на 1—2 мм. Забивать шурупы не допускается. Гвозди должны забиваться заподлицо со стенкой футляра.
В случае крепления изделия к съемной крышке в футлярах типа II с массой до 30 кг необходимо ее крепить к корпусу футляра четырьмя шурупами 1—5×45.019 по ГОСТ 1145 к брускам сечением 25×35 мм и длиной, равной внутренней высоте футляра. Бруски устанавливают вертикально и крепят к боковым, торцовым стенкам и дну футляра гвоздями 1,8×32 мм по ГОСТ 4034; расстояние между ними — 50 мм.
Способ крепления крышки с изделием к корпусу в футлярах типа II представлен на черт. 51 приложения.
Допускается дно в футлярах типов I—III и крышку в футлярах типа III из фанеры для футляров длиной и шириной до 150 мм только приклеивать.
(Измененная редакция, Изм. № 1).
2.16. Гвозди или шурупы должны быть расположены от кромок на расстоянии ‘/2 толщины досок и 15—30 мм от торцовых стенок для футляров без уголков, 30—65 мм — для футляров с уголками. В деревянных деталях под шурупы должны быть предварительно просверлены отверстия диаметром, равным внутреннему диаметру резьбы шурупа и глубиной ‘/3 его длины.
С. 7 ГОСТ 14225-83
Размеры гвоздей и шурупов должны соответствовать указанным в табл. 7.
|
Таблица 7 мм |
|||||||||||||||||||||||||||||||||||||||
|
|||||||||||||||||||||||||||||||||||||||
2.17. В футлярах типа III соединение крышки с корпусом должно быть выполнено на гладкую фугу или одним из способов, приведенных в приложении (черт. 1).
Резиновая прокладка сечением 5×6 мм по ГОСТ 6467 или прокладка из синтетического материала должны быть приклеены по периметру футляра между корпусом и крышкой клеем 88 НП или другими синтетическими клеями.
Допускается устанавливать дощатые или фанерные планки шириной 20—40 мм и толщиной не более 6 мм. Планку крепят к крышке или корпусу футляра гвоздями по ГОСТ 4028 или шурупами по ГОСТ 1145. Размеры гвоздей и шурупов должны соответствовать указанным в табл. 8,
|
Таблица 8 мм |
||||||||||||||||||||||||
|
||||||||||||||||||||||||
В футлярах типа II допускается устанавливать резиновую прокладку.
2.16, 2.17. (Измененная редакция, Изм. № 1, 2).
2.18. Для крепления дна и крышки к корпусу футляров из фанеры с внутренней стороны его допускается прибивать планки сечением 15×15 мм (см. черт. 1 приложения).
Планки крепят к торцовым и боковым стенкам футляра гвоздями по ГОСТ 4028 и ГОСТ 4034. Расстояние между гвоздями должно быть 70—100 мм. Размеры гвоздей должны соответствовать указанным в табл. 9.
|
Таблица 9 |
||||||||||||
|
||||||||||||
(Измененная редакция, Изм. № 1).
2.19. Допускается по согласованию с потребителем с наружной стороны дна или на одной из боковых стенок футляров типов II и III устанавливать по четыре амортизатора (см. черт. 2 приложения).
2.20. Футляры должны быть окрашены с наружной или с наружной и внутренней сторон эмалями, лаками, масляными красками.
Допускается по согласованию с потребителем не окрашивать футляры с наружной или внутренней стороны и дно.
(Измененная редакция, Изм. № 1).
ГОСТ 14225-83 С. 8
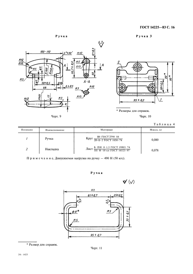
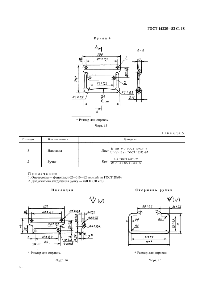
2.21. На крышке, боковых или торцовых стейках футляров типов II и III для изделий с массой до 20 кг устанавливают ручки (см. черт. 3—9), размеры которых указаны в табл. 1—3 приложения, для изделий с массой более 20 кг на боковых и торцовых стенках устанавливают ручки, изготовленные в соответствии с черт. 10—15, размеры которых указаны в табл. 4 и 5 приложения, или по ГОСТ 16561.
Допускается ручки не устанавливать.
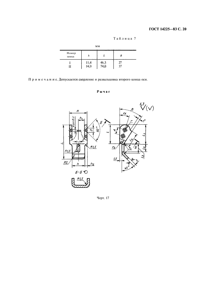
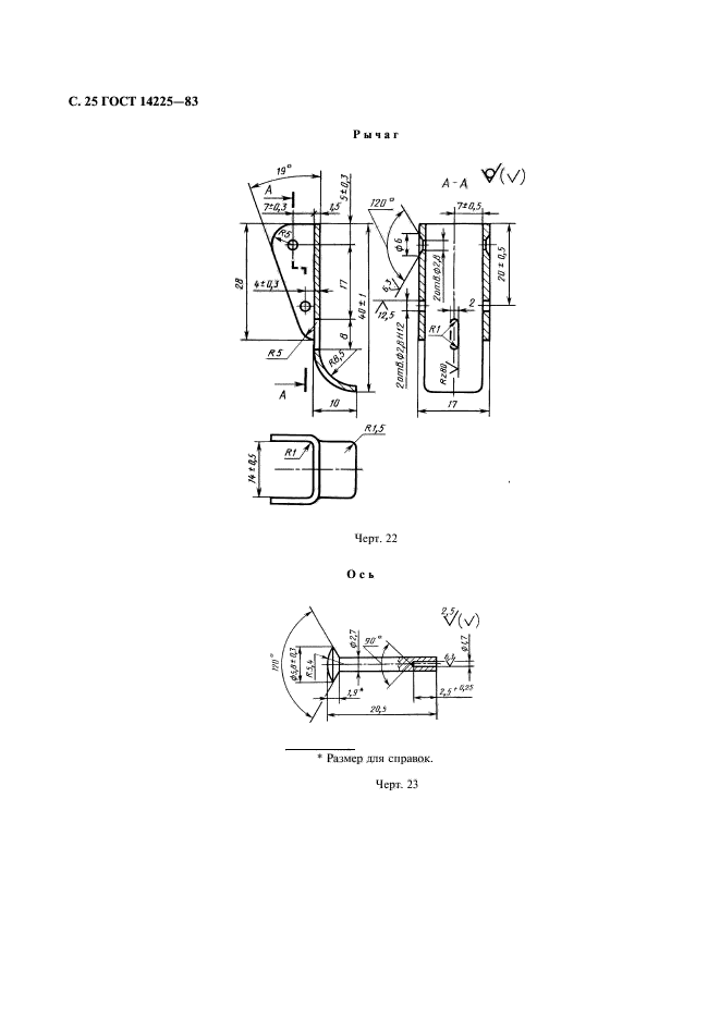
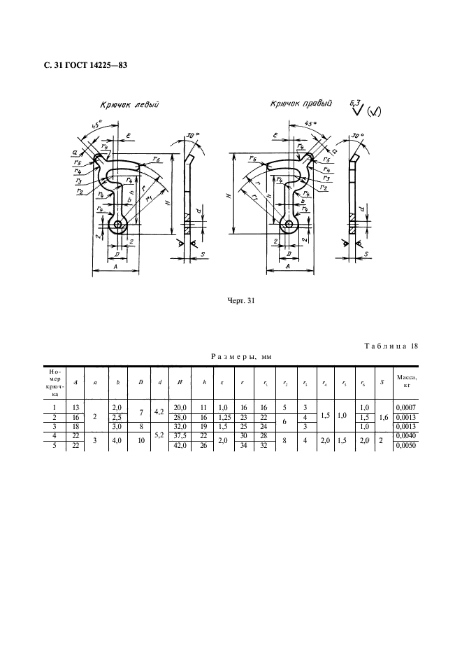
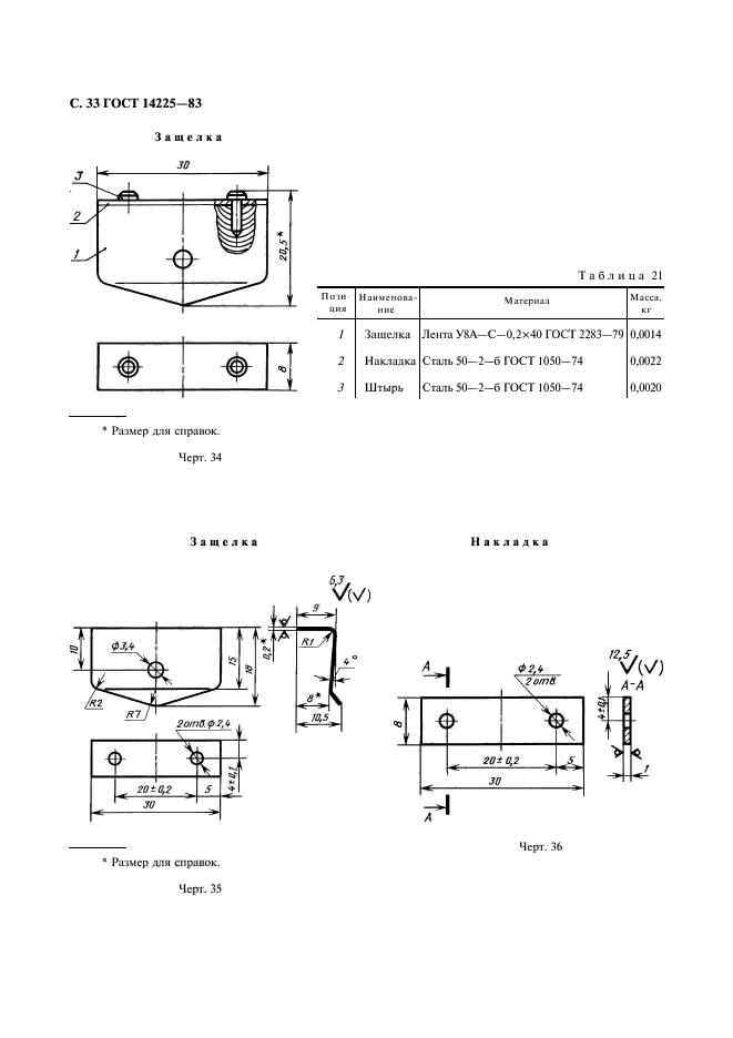
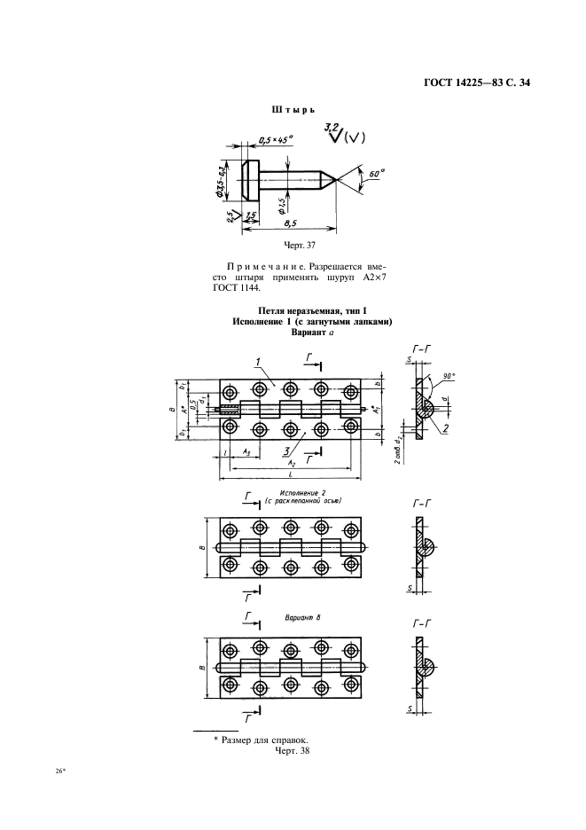
2.22. Для закрывания крышки футляров применяют замки и крючки, изготовленные в соответ ствии с черт. 16—33, размеры которых указаны в табл. 6—20 приложения, или по ГОСТ 16561, и защелки, изготовленные в соответствии с черт. 34—37, размеры которых указаны в табл. 21 приложения.
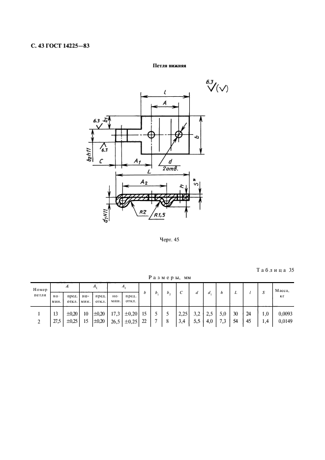
2.23. Крышка футляров типов II и III (кроме съемной) должна соединяться с корпусом петлями, изготовленными в соответствии с черт. 38—45, размеры которых указаны в табл. 22—35 приложения на шурупах по ГОСТ 1145 или на винтах по ГОСТ 17473 и ГОСТ 17475.
Петли при внутренней установке должны быть врезаны на их толщину.
С наружной стороны футляров по линии соединения крышки с корпусом снимают фаску 1,5×75″ на длину петли.
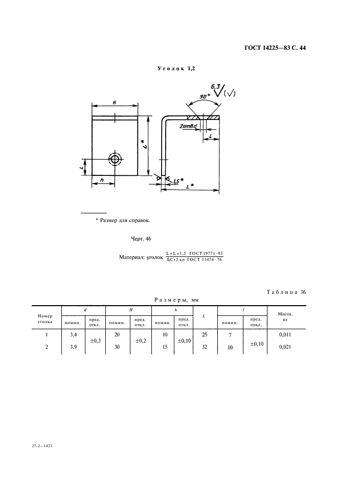
2.24. В футлярах типов II и III для изделий с массой более 20 кг допускается по углам устанавливать уголки, изготовленные в соответствии с черт. 46—47, размеры которых указаны в табл. 36 приложения, или по ГОСТ 2364, и на ребрах — угольники, изготовленные в соответствии с черт. 48, размеры которых указаны в табл. 37 приложения, или по ГОСТ 16561.
Допускается устанавливать уголки, изготовленные по черт. 46 приложения, на расстоянии 2 мм от линии соединения крышки с корпусом.
2.2.5. В футлярах типа III допускается установка ограничителей по ГОСТ 2361.
2.26. Допускается устанавливать в футлярах ушки для пломбирования, изготовленные в соответствии с черт. 49—50 приложения или по ГОСТ 18679. Ушки при установке должны быть врезаны на их толщину.
Допускается футляры типа I пломбировать в соответствии с черт. 52.
(Измененная редакция, Изм. № 1).
2.27. Для крепления металлической арматуры должны применяться шурупы по ГОСТ 1144, ГОСТ 1145 или заклепки по ГОСТ 10299, ГОСТ 10300, ГОСТ 10303, ГОСТ 10304, или винты по ГОСТ 17473, ГОСТ 17475 и шайбы по ГОСТ 11371, ГОСТ 10450 и ГОСТ 6958.
2.28. Металлическая арматура перед установкой должна быть предохранена от коррозии защитными покрытиями.
В качестве материалов для покрытий применяют кадмий, цинк, хром, перхлорвиниловые эмали, лаки, масляные краски или другие полимерные синтетические материалы. Покрытие деталей, поврежденное при сборке, должно быть загрунтовано и покрыто лаком.
2.29. Не указанные на черт. 3—50 приложения предельные отклонения размеров деталей металлической арматуры должны быть выполнены:
отверстий — по Н14,
валов — по hl4,
остальных — по ± —^ . ’
2.30. Нормы механической прочности при испытании футляров должны соответствовать ГОСТ 26838.
Примечание. Определение сопротивления сжатию, на горизонтальный удар и вибрационным нагрузкам проводят при разногласиях в оценке механической прочности.
2.31. Футляры должны поставляться в собранном виде.
3. ПРАВИЛА ПРИЕМКИ
3.1. Приемку футляров производят партиями. Партией считают количество футляров одного размера и типа, оформленное одним документом о качестве.
3.2. Для контроля качества футляров отбирают 10 % футляров от партии, но не менее 10 шт.
С. 9 ГОСТ 14225-83
Если в выборке окажется хотя бы один футляр, не соответствующий требованиям настоящего стандарта, проводят повторный контроль качества на удвоенном количестве футляров, взятых от той же партии.
По результатам повторного контроля партию считают соответствующей требованиям настоящего стандарта, если все футляры соответствуют требованиям настоящего стандарта.
При партиях 20 и менее футляров проводят сплошной контроль их качества.
(Измененная редакция, Изм. № 1).
4. МЕТОДЫ КОНТРОЛЯ
4.1. Типы футляров, правильность сборки и установки дополнительных креплений, отсутствие выступающих шурупов и гвоздей, качество древесины досок и планок определяют визуально.
4.2. Размеры футляров, длину и ширину деталей контролируют измерительными инструментами с погрешностью измерения не более 1 мм, а толщину деталей с погрешностью измерения не более
0,5 мм.
4.3. Пороки древесины, указанные в табл. 6, измеряют в соответствии с требованиями ГОСТ 2140. Сучки измеряют: сросшиеся, частично сросшиеся и несросшиеся — по расстоянию между касательными к контуру сучка, проведенными параллельно продольной оси доски и планки; сшивные — по расстоянию между ребром и касательной к контуру поперечного сечения сучка, проведенной параллельно ребру доски или планки.
4.4. Влажность древесины футляров определяют по ГОСТ 16588, влажность деталей из листовых древесных материалов — по ГОСТ 9621.
4.5. Шероховатость поверхности определяют по ГОСТ 15612.
4.6. Для контроля механической прочности футляров испытания проводят по ГОСТ 18106, ГОСТ 18211, ГОСТ 21136 и ГОСТ 25064.
5. УПАКОВКА, МАРКИРОВКА, ТРАНСПОРТИРОВАНИЕ И ХРАНЕНИЕ
5.1. В стандартах или технических условиях на футляры, разработанных в соответствии с требованиями настоящего стандарта, должно быть предусмотрено нанесение маркировки, характеризующей тару по ГОСТ 14192.
5.2. Транспортная маркировка — по ГОСТ 14192.
5.3. Футляры транспортируют в крытых транспортных средствах всеми видами транспорта в соответствии с правилами перевозок, действующими на соответствующем виде транспорта.
Транспортирование футляров транспортными пакетами — по ГОСТ 26663, основные параметры и размеры транспортных пакетов должны соответствовать требованиям ГОСТ 24597, средства и способы крепления пакетов — по ГОСТ 21650.
(Измененная редакция, Изм. N9 2).
5.4. Футляры должны храниться в складском помещении на расстоянии не менее 1 м от отопительных приборов и должны быть защищены от воздействия прямых солнечных лучей.
(Измененная редакция, Изм. № 1).
ГОСТ 14225-83 С. 10
ПРИЛОЖЕНИЕ
Рекомендуемое
Варианты соединения крышки с корпусом футляра типа III
Вариант II
Вариант I
|
с фанерной планкой и резиновой прокладкой |
с дощатой план- без планки кой в четверть |
I — крышка, 2 — корпус; 3 — прокладка резиновая 5×6 ГОСТ 6467;
4 — фанерная поперечная планка; 5 — дощатая поперечная планка;
6— шуруп 1—2,5×16 ГОСТ 1145; 7— фанерная продольная планка; 8 — дощатая продольная планка
Крепление дна и крышки к корпусу футляров из фанеры
|
7 |
1 — крышка; 2 — боковая стенка; 3 — дно; 4 — планки сечением 15×15
Черт. 1
Крепление амортизатора к боковой стенке и дну футляра
/ — боковая стенка (дно) футляра;
С. 11 ГОСТ 14225-83
2 — шуруп 1—3×16 ГОСТ 1144;
3 — шайба 3.01 ГОСТ 11371; 4 — амор
тизатор резиновый
Черт. 2
Черт. 3
ГОСТ 14225-83 С- 12
Ручка 1
А.
-н
|
Таблица 1 |
||||||||||||||||||
|
||||||||||||||||||
|
Примечание. Допускаемая нагрузка на ручку — 196 Н (20 кгс). |
С. 13 ГОСТ 14225
83
Ручка
Черт. 4
Стержень ручки
,2 {V)
Черт. 5
ГОСТ 14225-83 С, 14
Стойка
6У)
Черт. 6
|
Таблица 2 Размеры, мм |
|
|






