Сплавы свинцово-сурьмянистые. Технические условия
Заменяет

Страница 1

Страница 2

Страница 3

Страница 4

Страница 5

Страница 6

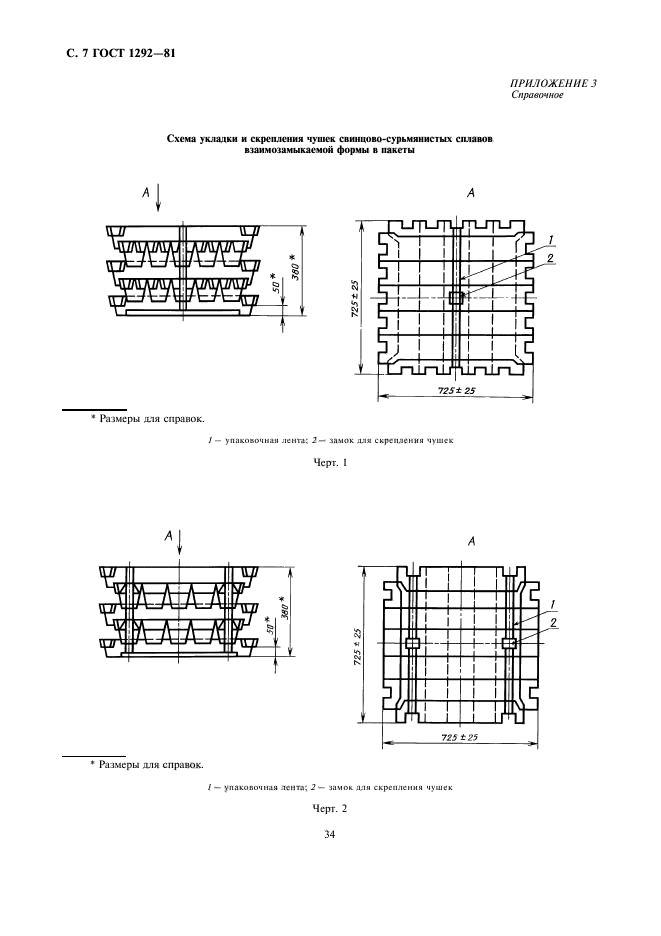
Страница 7

Страница 8

Страница 9

Страница 10
ГОСТ 1292-81
МЕЖГОСУДАРСТВЕННЫЙ СТАНДАРТ
СПЛАВЫ СВИНЦОВО-СУРЬМЯНИСТЫЕ
ТЕХНИЧЕСКИЕ УСЛОВИЯ
Е
ИПК ИЗДАТЕЛЬСТВО СТАНДАРТОВ
Москва
ИНФОРМАЦИОННЫЕ ДАННЫЕ
1. РАЗРАБОТАН И ВНЕСЕН Министерством цветной металлургии СССР
РАЗРАБОТЧИКИ
А.Сычев, д-р техн. наук; Л.И. Зеленская, канд. техн. наук; Г.А. Калачева; В.Солдатенко; Л.А. Володина; Е.Ф. Сальникова
2. УТВЕРЖДЕН И ВВЕДЕН В ДЕЙСТВИЕ Постановлением Государственного комитета СССР по стандартам от 30.06.81 № 3259
Изменение № 4 принято Межгосударственным Советом по стандартизации, метрологии и сертификации
Зарегистрировано Техническим секретариатом МГС № 2152
За принятие изменения проголосовали:
|
Наименование государства |
Наименование национального органа по стандартизации |
|
Азербайджанская Республика |
Азгосстандарт |
|
Республика Беларусь |
Госстандарт Беларуси |
|
Республика Казахстан |
Госстандарт Республики Казахстан |
|
Киргизская Республика |
Киргизстандарт |
|
Республика Молдова |
Молдовастандарт |
|
Туркменистан |
Главная государственная инспекция Туркменистана |
3. ВЗАМЕН ГОСТ 1292-74
4. ССЫЛОЧНЫЕ НОРМАТИВНО-ТЕХНИЧЕСКИЕ ДОКУМЕНТЫ
|
Обозначение НТД, на который дана ссылка |
Номер пункта |
|
ГОСТ 12.1.005-88 |
3.1, 3.2, 3.2.1 |
|
ГОСТ 12.1.007-76 |
3.1, 3.2.1 |
|
ГОСТ 12.1.016-79 |
3.2.1 |
|
ГОСТ 1293.0-83 — ГОСТ 1293.5-83 |
5.3 |
|
ГОСТ 1293.6-78 |
5.3 |
|
ГОСТ 1293.7-83 |
5.3 |
|
ГОСТ 1293.8-78 |
5.3 |
|
ГОСТ 1293.9-78 |
5.3 |
|
ГОСТ 1293.10-83 — ГОСТ 1293.14-83 |
5.3 |
|
ГОСТ 3282-74 |
6.2 |
|
ГОСТ 3560-73 |
6.2 |
|
ГОСТ 4152-89 |
3.2 |
|
ГОСТ 13348-74 |
5.3 |
|
ГОСТ 14192-96 |
6.1 |
|
ГОСТ 18293-72 |
3.2 |
|
ГОСТ 19433-88 |
6.1, 6.2.3 |
|
ГОСТ 21399-75 |
6.2 |
|
ГОСТ 22235-76 |
6.3 |
|
ГОСТ 22477-77 |
6.2 |
|
ГОСТ 24231-80 |
5.1 |
5. Ограничение срока действия снято по протоколу № 7-95 Межгосударственного Совета по стандартизации, метрологии и сертификации (ИУС 11-95)
6. ИЗДАНИЕ (март 2000 г.) с Изменениями № 1, 2, 3, 4, утвержденными в апреле 1986 г., марте 1989 г., декабре 1990 г., январе 1999 г. (ИУС 8-86, 6-89, 4-91, 4-99)
МЕЖГОСУДАРСТВЕННЫЙ СТАНДАРТ
|
СПЛАВЫ СВИНЦОВО-СУРЬМЯНИСТЫЕ Технические условия Lead-antimony alloys. Specifications |
ГОСТ |
Дата введения 01.01.82
Настоящий стандарт распространяется на свинцово-сурьмянистые сплавы, изготовляемые в виде чушек и блоков, предназначенные для производства оболочек кабелей, аккумуляторов и изделий общего назначения, и устанавливает требования к свинцово-сурьмянистым сплавам, изготовляемым для нужд народного хозяйства и экспорта.
(Измененная редакция, Изм. № 2).
1. МАРКИ
1.1. По химическому составу марки свинцово-сурьмянистых сплавов должны соответствовать требованиям, указанным в таблице.
|
Обозначение марок сплавов |
Химический состав, % |
|||||||||||
|
Массовая доля основных компонентов |
Массовая доля примеси, не более |
|||||||||||
|
Сурьма |
Медь |
Олово |
Мышьяк |
Свинец |
Медь |
Мышьяк |
Олово |
Висмут |
Цинк |
Железо |
Всего |
|
|
PbSb0,2 SnCu |
От 0,15 до 0,30 |
От 0,02 до 0,05 |
От 0,35 до 0,5 Те |
Те до 0,005 |
Остальное |
— |
0,002 |
— |
0,03 |
0,003 |
0,003 |
0,10 |
|
ССуМТ |
От 0,3 до 0,45 |
От 0,02 до 0,05 |
От 0,03 до 0,05 |
— |
— |
0,005 |
0,005 |
0,05 |
0,005 |
0,005 |
0,10 |
|
|
ССу |
От 0,4 до 0,6 |
— |
— |
— |
0,002 |
0,005 |
0,005 |
0,05 |
0,005 |
0,005 |
0,10 |
|
|
ССуМ |
От 0,4 до 0,6 |
От 0,02 до 0,05 |
— |
— |
— |
0,005 |
0,005 |
0,05 |
0,005 |
0,005 |
0,10 |
|
|
PbSb0,9 |
От 0,6 до 1,2 |
— |
— Se |
— |
0,02 |
0,005 |
0,005 |
0,06 |
0,005 |
0,005 |
0,10 |
|
|
PbSb2,5AsSe |
От 2,4 до 2,9 |
— |
От 0,015 до 0,035 |
От 0,06 до 0,13 |
0,02 |
— |
0,01 |
0,02 |
0,002 |
0,005 |
0,10 |
|
|
ССу2 |
От 2,5 до 3,5 |
— |
— |
— |
0,1 |
0,03 |
0,2 |
0,05 |
0,002 |
0,01 |
0,30 |
|
|
УСМ |
От 3,0 до 4,0 |
— |
— |
От 0,15 до 0,3 |
0,02 |
— |
0,01 |
0,03 |
0,001 |
0,005 |
0,10 |
|
|
Ссу3 |
До 5,0 |
— |
— |
— |
0,2 |
0,03 |
Не ограничивается |
0,05 |
0,03 |
0,01 |
0,4 |
|
|
PbSb4 |
От 3,8 до 4,4 |
— |
— |
— |
0,02 |
0,02 |
0,01 |
0,03 |
0,002 |
0,005 |
0,10 |
|
|
PbSb5 |
От 4,5 до 5,5 |
— |
— |
— |
0,02 |
0,01 |
0,01 |
0,04 |
0,002 |
0,005 |
0,08 |
|
|
PbSb5,5 |
От 5,0 до 6,0 |
— |
— |
— |
0,05 |
0,01 |
0,01 |
0,05 |
0,002 |
0,005 |
0,15 |
|
|
УС |
От 5,0 до 6,0 |
— |
— |
От 0,08 до 0,2 |
0,06 |
— |
0,01 |
0,03 |
0,001 |
0,005 |
0,15 |
|
|
PbSb6,5 |
От 6,0 до 7,0 |
— |
— |
— |
0,05 |
0,02 |
0,01 |
0,03 |
0,002 |
0,005 |
0,15 |
|
|
ССуА |
От 2,0 до 7,0 |
— |
— |
— |
0,2 |
0,05 |
0,01 |
0,03 |
0,001 |
0,005 |
0,30 |
|
|
ССу8 |
От 7,0 до 8,5 |
— |
— |
— |
0,002 |
0,005 |
0,01 |
0,03 |
0,002 |
0,005 |
0,10 |
|
|
Ссу10 |
От 9,0 до 12,0 |
— |
— |
— |
0,002 |
0,005 |
0,01 |
0,03 |
0,002 |
0,005 |
0,10 |
|
Примечания:
1. В сплаве марки УСМ, применяемой для изготовления дроби, массовая доля основного компонента — мышьяка должна быть от 0,4 % до 0,7 %.
2. Допускается изготовление сплава марки PbSb 0,9, легированного медью с массовой долей от 0,02 до 0,06 %. К обозначению марки такого сплава добавляется обозначение Cu.
(Измененная редакция, Изм. № 3).
1.2. В свинцово-сурьмянистых сплавах, предназначенных для производства оболочек кабелей, массовая доля серебра не должна быть более 0,002 %, суммы кальция, магния и натрия — не более 0,04 %, никеля — не более 0,002 %.
1.3. В свинцово-сурьмянистых сплавах, предназначенных для производства аккумуляторов, массовая доля серебра не должна быть более 0,02 %, натрия — не более 0,0013 %, магния — не более 0,002 %, никеля — не более 0,001 %.
1.4. В свинцово-сурьмянистых сплавах марок УС и ССуА в качестве основного компонента допускается олово, содержание которого устанавливается по согласованию изготовителя с потребителем.
1.5. Применяемость свинцово-сурьмянистых сплавов по маркам дана в приложении 1.
Коды ОКП приведены в приложе
