Система стандартов безопасности труда. Смеси взрывоопасные. Классификация и методы испытаний
Действие завершено 01.01.2001
Утратил силу в РФ
Документ завершил свое действие. Вы можете скачать Руководящий документ ГОСТ 12.1.011-78 в удобном формате.
Скрыть дополнительную информацию
Страница 1

Страница 2

Страница 3

Страница 4

Страница 5

Страница 6

Страница 7

Страница 8

Страница 9

Страница 10

Страница 11

Страница 12

Страница 13

Страница 14

Страница 15

Страница 16

Страница 17

Страница 18

Страница 19

Страница 20

Страница 21

Страница 22

Страница 23
ГОСУДАРСТВЕННЫЙ СТАНДАРТ СОЮЗА ССР
Система стандартов безопасности труда
СМЕСИ ВЗРЫВООПАСНЫЕ
Классификация и методы испытаний
ГОСТ 12.1.011-78*
(СТ СЭВ 2775-80)
ГОСУДАРСТВЕННЫЙ СТАНДАРТ СОЮЗА ССР
|
Система стандартов безопасности труда СМЕСИ ВЗРЫВООПАСНЫЕ Классификация и методы испытаний Occupational safety standards system. Explosive mixtures. Classification and test methods |
ГОСТ (СТ СЭВ 2775-80) |
Постановлением Государственного комитета СССР по стандартам от 14 сентября 1978 г. № 2509 срок введения установлен
с 01.07.79
1. Настоящий стандарт распространяется на взрывоопасные смеси горючих газов и паров с воздухом, образующиеся в процессе производства во взрывоопасных средах, способные взрываться от постороннего источника поджигания, в которых применяется взрывозащищенное электрооборудование.
Стандарт устанавливает классификацию взрывоопасных смесей по категориям и группам и методы определения параметров взрывоопасности, используемых при установлении классификации смесей.
Классификация взрывоопасных смесей предназначена для получения исходных данных, необходимых при выборке взрывозащищенного электрооборудования согласно ГОСТ 12.2.020-76.
(Измененная редакция, Изм. № 1).
2. Взрывоопасные смеси газов и паров подразделяются на категории взрывоопасности в зависимости от величины безопасного экспериментального максимального зазора (БЭМЗ)* и значения соотношения между минимальным током воспламенения испытуемого газа или пара и минимальным током воспламенения метана (МТВ); на группы в зависимости от величины температуры самовоспламенения.
_______________
* Максимальный зазор между фланцами оболочки, через который не происходит передача взрыва из оболочки в окружающую среду при любой концентрации горючего в воздухе.
3. Классификация по категориям взрывоопасности смесей газов и паров с воздухом.
3.1. Взрывоопасные смеси подразделяются на категории:
I — метан на подземных горных работах,
II — газы и пары за исключением метана на подземных горных работах.
3.2. В зависимости от значения БЭМЗ газы и пары категории II подразделяются согласно табл. 1.
Таблица 1
|
Категория взрывоопасности взрывоопасных смесей |
Величина БЭМЗ, мм |
|
II A |
0,9 и более |
|
II B |
Св. 0,5 но менее 0,9 |
|
II C |
0,5 и менее |
3.3. В зависимости от значений МТВ газы и пары категории II подразделяются согласно табл. 1а.
Таблица 1а
|
Категория взрывоопасности взрывоопасных смесей |
Величина МТВ |
|
II A |
Более 0,8 |
|
II B |
От 0,4 до 0,8 включ. |
|
II C |
Менее 0,45 |
3.4. Для классификации большинства газов и паров достаточно применения одного из критериев пп. 3.2 и 3.3.
Один критерий достаточен в следующих случаях:
для категории II A — БЭМЗ больше 0,9 мм или соотношение МТВ больше 0,9;
для категории II B — БЭМЗ в пределах от 0,55 до 0,9 мм или соотношение МТВ в пределах от 0,5 до 0,8;
для категории II C — БЭМЗ меньше 0,5 мм или соотношение МТВ меньше 0,45;
3.5. Необходимо определять как БЭМЗ, так и соотношение МТВ в следующих случаях:
если определено только соотношение МТВ и его значение находится в пределах от 0,45 до 0,5 или от 0,8 до 0,9;
если определен только БЭМЗ и его значение находится в пределах 0,5 до 0,55.
3.6. Категория взрывоопасности (II A, II B или II C) может быть определена условно (предварительно) по сходству химической структуры.
В тех случаях, когда значение БЭМЗ или соотношение МТВ неизвестны для данного газа или пара, можно условно (предварительно) принять категорию этого химического соединения, принадлежащего к тому же гомологическому ряду, но с меньшим молекулярным весом.
2; 3; 3.1-3.6. (Измененная редакция, Изм. № 1).
4а. Взрывоопасные смеси газов и паров подразделяются на группы в зависимости от величины температуры самовоспламенения согласно табл. 2.
Таблица 2
|
Группы взрывоопасных смесей |
Температура самовоспламенения, С |
|
Т1 |
Св. 450 |
|
Т2 |
» 300 до 450 включ. |
|
Т3 |
» 200 до 300 « |
|
Т4 |
» 135 до 200 « |
|
Т5 |
» 100 до 135 « |
|
Т6 |
» 85 до 100 « |
(Введен дополнительно, Изм. № 1).
4. Распределение взрывоопасных смесей по категориям и группам приведено в приложении 3.
5. Отнесение к категориям и группам смесей, не указанным в приложении 3, производится испытательными организациями в соответствии с перечнем их по ГОСТ 12.2.021-76.
6. Методы испытаний
6.1. Метод определения БЭМЗ
6.1.1. Аппаратура
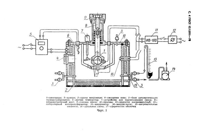
6.1.1.1. Прибор (черт. 1), применяемый для определения БЭМЗ, должен изготовляться из химически стойкого металла и иметь:
цилиндрическую герметичную камеру объемом 4,0 дм3, оборудованную смотровым окном, запальной свечой, вакуумными кранами, нагревательными элементами. Камера должна герметически закрываться крышкой;
сферическую оболочку объемом 0,02 дм3, укрепленную на крышке, и состоящую из полусфер с фланцами длиной 25 мм; нижняя полусфера неподвижная, верхняя прижата пружиной к микрометрическому винту;
микрометрический винт с шагом резьбы 0,5 мм, с головкой, на которой нанесены деления;
зазор между фланцами оболочки, который можно менять вращением головки микрометрического винта;
электроды из нержавеющей стали с искровым промежутком (3 0,5) мм, которые должны располагаться вертикально и находиться в 14 мм от внутренней кромки фланцев оболочки;
устройства для перемешивания смеси.
