Бутылки стеклянные для пищевых жидкостей. Типы, параметры и основные размеры
Заменяет

Страница 1

Страница 2

Страница 3

Страница 4

Страница 5

Страница 6

Страница 7

Страница 8

Страница 9

Страница 10

Страница 11

Страница 12

Страница 13

Страница 14

Страница 15

Страница 16

Страница 17

Страница 18

Страница 19

Страница 20

Страница 21

Страница 22

Страница 23

Страница 24

Страница 25

Страница 26
ГОСТ 10117.2-2001
МЕЖГОСУДАРСТВЕННЫЙ СТАНДАРТ
БУТЫЛКИ СТЕКЛЯННЫЕ ДЛЯ ПИЩЕВЫХ ЖИДКОСТЕЙ Типы, параметры и основные размеры
Издание официальное
МЕЖГОСУДАРСТВЕННЫЙ СОВЕТ ПО СТАНДАРТИЗАЦИИ, МЕТРОЛОГИИ И СЕРТИФИКАЦИИ Минск
ГОСТ 10117.2-2001
Предисловие
1 РАЗРАБОТАН Техническим комитетом по стандартизации ГК 74 «Стеклянная тара» ВНЕСЕН Госстандартом России
2 ПРИНЯТ Межгосударственным советом по стандартизации, метрологии и сертификации (протокол № 20 от I ноября 2001 г.)
|
За принятие проголосовали: |
||||
|
3 Стандарт гармонизирован с международными стандартами: И СО 8162—85 «Тара стеклянная. Высокие венчики горловины под кроненпробку. Размеры*, ИСО 8163—85 «Тара стеклянная. Низкие венчики горловины под кроненпробку. Размеры». ИСО 8164—90 «Тара стеклянная. Бутылки «Евроформы» вместимостью 520 мл. Размеры*. ИСО 9056—90 «Тара стеклянная. Венчики под винтовой колпачок с контрольной предохранительной полоской. Размеры*. ИСО 9058—92 «Тара стеклянная. Допуски*
4 Постановлением Государственного комитета Российской Федерации по стандартизации и метрологии от 8 июля 2002 г. № 270-ст межгосударственный стандарт ГОСТ 10117.2-2001 введен в действие в качестве государственного стандарта Российской Федерации с 1 января 2003 г.
5 ВЗАМЕН ГОСТ 10117-91 в части раздела 1 и ГОСТ 26586-85 в части раздела I
6 ИЗДАНИЕ с Поправками (ИУС 2-2003, 12-2003)
Настоящий стандарт не может быть полностью или частично воспроизведен, тиражирован и распространен в качестве официального издания на территории Российской Федерации без разрешения Федерального агентства по техническому регулированию и метрологии
ГОСТ 10117.2-2001
МЕЖГОСУДАРСТВЕННЫЙ СТАНДАРТ
БУТЫЛКИ СТЕКЛЯННЫЕ ДНЯ ПИЩЕВЫХ ЖИДКОСТЕЙ
Типы, параметры и основные размеры
Glass bottles for food liquids.
Types, parameters and main dimensions
Дата введения 2003—01—01
1 Область применения
Настоящий стандарт распространяется на стеклянные бутылки круглой формы, предназначенные для пищевых жидкостей, и устанавливает их типы, параметры и основные размеры.
Обязательные требования к качеству продукции по ГОСТ 30288 изложены в 4.6.
2 Нормативные ссылки
В настоящем стандарте использованы ссылки на следующие стандарты:
ГОСТ 10117.1-2001 Бутылки стеклянные для пищевых жидкостей. Общие технические условия
ГОСТ 17527-2003 Упаковка. Термины и определения
ГОСТ 30288-95 Тара стеклянная. Общие положения по безопасности, маркировке и ресурсосбережению
3 Определения
В настоящем стандарте применяют термины по ГОСТ 17527. а также следующие термины с соответствующими определениями:
3.1 номинальная вместимость: Вместимость тары, определяющая заданный объем жидкости, который используется для маркировки тары.
3.2 полная вместимость: Вместимость тары, определяющая объем жидкости, помещенной до верхней плоскости торна венчика горловины.
3.3 уровень заполнения: Расстояние от верхней плоскости торна венчика горловины до поверхности жидкости в таре, наполненной в соответствии с заданной номинальной вместимостью.
3.4 предельное отклонение: Разность между предельным и номинальным размерами.
4 Типы, параметры и основные размеры
4.1 Типы, параметры и основные размеры бутылок должны соответствовать указанным на рисунках 1—27 и в таблицах 1—8.
4.2 На бутылках допускается на цилиндрической части углубление под этикетку размером от 0,2 до 1,0 мм.
Допускается изменять высоту цилиндрической части, предназначенной под этикетку.
4.3 Контролируемые параметры бутылок: общая высота, наружный диаметр корпуса, полная вместимость и. по согласованию с заказчиком, номинальная вместимость по уровню заполнения.
При горячем розливе вина полную вместимость допускается изменять по согласованию с заказчиком.
4.4 Условные обозначения и размеры венчиков горловин должны соответствовать указанным на рисунках 28—55 и в таблице 9.
И мание официальное
I
ГОСТ 10117.2-2001
|
|||||||||||||||||||||||||||
|
Рисунок 1 — Бутылка типа 1 |
|||||||||||||||||||||||||||
|
||||||||||||||||||||||||||||
|
Рисунок 2 — Бутылка типа II |
||||||||||||||||||||||||||||
|
Таблица 1 |
|
Таблица 2 |
*)
ГОСТ 10117.2-2001
|
Таблица 3 |
||||||||||||||||||||||||||||||||||||||||||||||||||
|
||||||||||||||||||||||||||||||||||||||||||||||||||
|
Рисунок 3 — Бутылка шла III |
||||||||||||||||||||||||||||||||||||||||||||||||||
|
Т а б л и и а 4 |
||||||||||||||||||||||||||||||||||||
|
||||||||||||||||||||||||||||||||||||
Рисунок 4 — Бутылка типа IV
3
ГОСТ 10117.2-2001
|
вместимость, см1, — 700. Полна» ймсстммость.см*. — 725i 15. Рису нок 6 — Бутылка типа VI |
|
пмесшмость.см*, — 330. Полная iimcl’i нмость.см3, — 3S0 1 10. Рисунок 5 — Бутылка тана V |
|
28Bfi±1.7 |
|
|
нмсстимостъ.см1. — 77S. Полная вмсстимооъ.см1. — 800 * 15. Рисунок 7 — Бутылка типа VII |
|
|
Рисунок 8 — Бутылка типа VIII |
|
Рисунок 9 — Бутылка типа IX |
Номинальная иместимость.см . — 544. Полная имсстимасть.см’. — 575 J 15.
Номинальная вместимость, см , — 700. Полная вместимость.см . — 725± 15.
4
ГОСТ 10117.2-2001
|
Тип л> г и л • ки |
Вмсстимоси., см1 |
Размеры, мм |
|||
|
поми наль ная |
полпая |
Н |
D |
А. |
|
|
Ха Хб |
500 330 |
520* 7 345 г 7 |
228.0 ± 1,6 228.0 ± 1,6 |
70.5 ± 1.4 62,0 ± 1.2 |
132,5 93 |
Рисунок 10 — Бутылка типа X
|
Рисунок 11 — Бутылка типа XI Рисунок 12 — Бутылка типа XII |
Полная пмесшмость.см*. — 2151 7. Полная вместимость.см\ — 760*1°.
S
ГОСТ 10117.2-2001
|
||||||||||||||||||||||||||||||||||||||||||||||||||||||||||||
|
Рисунок 13 — Бутылка типа XIII |
||||||||||||||||||||||||||||||||||||||||||||||||||||||||||||
|
Таблица 7 |
|||||||||||||||||||||||||||||||||||||||||||||||||||||
|
|||||||||||||||||||||||||||||||||||||||||||||||||||||
Рисунок 14 — Бутылка типа XIV
|
Таблица 6 |
6
ГОСТ 10117.2-2001
|
nsjmjB |
|
Номинальная вместимость.см’, — 1000. Полная вместимость, см1. — 1020l!°. |
Номинальная вместимость,см}, — 750. Полная вместиыость.см3, — 760’i». |
Номинальная вместимость.см’.— 750. Полная вместимость.см*. — 775 1 10. |
Рисунок 16 — Бутылка Рисунок 17 — Бутылка
Рисунок 15 — Бутылка тина XV
типа XVI тапа XVII
|
тл±*л Рисунок 18 — Бутылка тина XVIII |
|
Рисунок 19 — Бутылка тина XIX |
Номинальная вмести маеть,см\ — 750. Полная вместимость,см2. — 785 ± 15.
Номинальная вместимость.см’. — 500. Полная вместимость.см \ — S35 1 10.
7
ГОСТ 10117.2-2001
|
) «ю Полнил пмссгимосгь.см , — 760.$ . Рисунок 22 — Бутылка типа XXII |
|
Полная нмсстимость.см\ — 780 1 15. Рисунок 20 — Бугьпка типа XX |
|
Таблица 8 |
|||||||||||||||||||||||||||||||||
|
|||||||||||||||||||||||||||||||||
|
Рисунок 23 — Бутылка типа XXIII |
ГОСТ 10117.2-2001
|
Номинальная вместо масть,см3, — 700. Номинальная амсстимость.см1. — 1750. Полная иместомосгь.см4, — 720 1 10. Полная вмссгимосн.см , — 1780 1 20. Рисунок 26 — Бутылка типа XXVI Рисунок 27 — Бутылка тина XXVII |
|
Рисунок 24 — Бутылка типа XXIV |
|
Рисунок 25 — Бутылка типа XXV |
9
ГОСТ 10117.2-2001
|
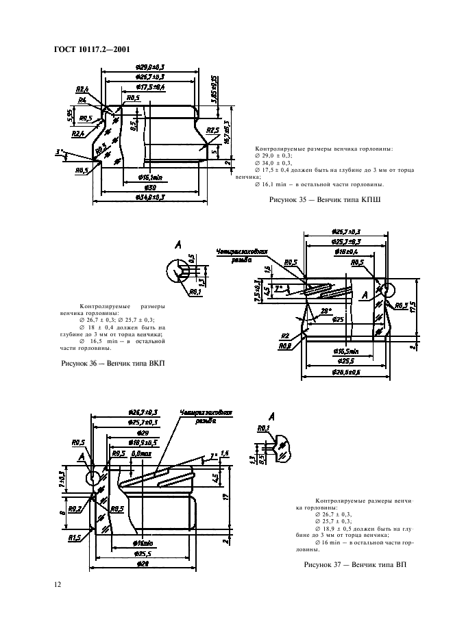
Контролируемые размеры венчика горловины: 0 26.5* & 0 2S.0 1 0,3; 0 16,0** доджем быгьна глубине ло 3 мм or iopiu венчика; 0 15,1 min — в остальной части горловины. Рисунок 28 — Венчик типа КН |
Контролируемые размеры венчика горловины: 0 26.5 ± 0,3; 0 2S.0 1 0,3; 0 должен быть на глубине ло 3 мм oi торил венчика; 0 15.1 min — в остальной части горловины. Допускас!си внутренний диаметр венчика 17,51 1.0 на глубине до 3 мм от торил венчика. Рисунок 29 — Венчик типа К |
|
Рисунок 30 — Венчик типа КП |
Контролируемые ратмеры венчика горловины:
0 26,51 0.3;
0 16.4$* должен быть на глубине до мм от горна венчика;
0 15.1 min — в остальной части торло-
Доиускается внутренний диаметр веи-чика 17,5 1 1,0 нл глубине до 3 мм от юрца венчика.
10
ГОСТ 10117.2-2001
|
Контролируемые раямеры венчика юрловины: 0 26.5!“ «. 0 17.51 1.0 должен быть на глубине до 3 мм от ториа венчика: 0 16,0 min — и остальной части горловины. Рисунок 31 — Венчик типа КПИн |
Контролируемые размеры венчика юрловины: 0 26.5^;*^; 0 должен 6uib на глубине до 3 мм от юрка венчика: 0 15.1 min — в остальной части юрловины. Допускается внутренний диаметр венчика 17.5* 1.0 на глу-бине до 3 мм от ториа венчика. Рисунок 32 — Венчик типа КПНн |
|
Контролируемые размеры венчика горловины: 0 20,51 0.3; 0 12.1 1 0.4 должен быть на глубине до 3 мм от ториа венчика: 0 10.8 min — в остальной части торловины. Рисунок 33 — Венчик типа А |
Контролируемые размеры венчика горловины: 0 34.0 ± 0.3; 0 17,51 0.4 должен быть на глубине до 3 мм от торна венчика; 0 16.1 min — в остальной части горловины. Рисунок 34 — Венчик типа Ш |
и
ГОСТ 10117.2-2001
|
Контролируемые венчика горловины:
0 26.7 1 0.3; 0 25.7 ± 0.3; 0 18 1 0.4 должен быть на глубине цо 3 мм от ториа венчика; 0 16.5 min — в остальной части юрловииы. Рисунок 36 — Венчик типа ВКП |
Контролируемые ратмеры венчика г орд они им: 0 29.0 t 0,3: 0 34,0 1 0,3. 0 17,5 г 0.4 должен быть ил глубине до 3 мм от торца венчики; 0 16.1 min — в остальной части тордовины.
|
Контролируемые размеры венчи ка горлопины:
0 26.7 1 0,3,
0 25,7 1 0.3;
0 IS,9 1 0.5 должен быть на глубине ло 3 мм от торца венчика;
0 16 min — в остальной части тор< ловины.
Рисунок 37 — Венчик типа ВП
12
ГОСТ 10117.2-2001
|
fit |
r* |
||||
|
Ml- |
|||||
|
* V |
RBj/ |
» |
|||
|
«4 |
|||||
|
ftp/r |
|||||
|
*15JS |
|||||
|
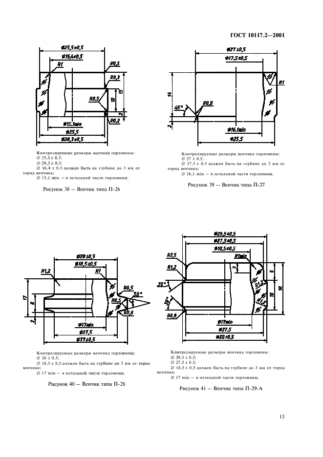
К онтрол кpvcMi.it* размеры пенчика юрлопнны: 0 25.51 0.5, 0 28,31 0.5; 0 16,4 ± 0.5 должен быть на глубине ао 3 мм oi торна венчика; 0 15.1 min — в остальной част юрловмнм. Рисунок 38 — Венчик типа П-26 |
Контролируемые размеры венчика горловины: 0 27 ± 0,5: 0 17.5 1 0.5 должен быть на глубине ао 3 мм от торна венчика; 0 16.1 min — и остальной част юрловины. Рисунок 39 — Венчик типа П-27 |
|
Контролируемые ра&меры венчика юр.юпини: 0 28 1 0.5; 0 18.5 1 0.5 аолжен быть на глубине до 3 мм от ториа венчика: 0 17 min — н остальной части горлопнны. Рисунок 40 — Венчик типа П-28 |
Контролируемые размеры венчика горловины: 0 29.51 0,5: 0 27.5 1 0,5; 0 IS.5 1 0,5 должен быть на глубине ао 3 мм oi торца пенчика; 0 17 min — в остальной части горлопнны. Рисунок 41 — Венчик типа П-29-А |
13
ГОСТ 10117.2-2001
|
Контролируемые ра «меры венчика горловины: 0 29.5 1 0,5: 0 18.5 1 0.5 должен быть на глубине до 3 мм от горна венчикл: 0 17 min — в остальной части горловины. Рисунок 42 — Венчик типа Г1-29-Б |
Контролируемые раимеры венчика горловины: 0 30.6 ± 0.5, 0 18.5 1 0.5 должен быть на глубине до 3 мм от торил венчика: 0 17 min — в остальной части горловины. Рисунок 43 — Венчик тана 11-30 |
|
Контролируемые размеры венчика горловины: 0 32 1 0,5; 0 17,5 1 0.5 должен быть на глубине до 3 мм от торна венчика; 0 16.1 min — и остальной части горловины* Рисунок 44 — Венчик типа 11-32 |
Контролируемые ратмеры венчика горловины: 0 18,51 0.5 должен быть на глубине до 3 мм от ториа венчика; 0 17 min — в остальной части горловины. Рисунок 45 — Венчик типа ПР-32 |
14
Контролируемые размеры немчика юрловним:
0 30.4 1 0.3:
0 29.4 Л 0,3:
0 19 i 0.3 должен быть ни глубине до 3 ми от торца венчика:
0 IK mill — и остальной части горловины.
Рисунок 46 — Венчик типа КПМ-30
423AS6J
gggwto
шмл.
2ШШ.
Контролируемые ралмеры венчика юрловкны:
0 32.7 1 0.3;
0 30,8 i. 0,4;
0 23.0 1 0.3 должен быть на мубине до 3 мм от торца венчика:
0 22 min — в остальной части горловины.
Рисунок 47 — Венчик типа КПМ-32
15
ГОСТ 10117.2-2001
0J4J*0A
тшз
5iOJf
тш2_
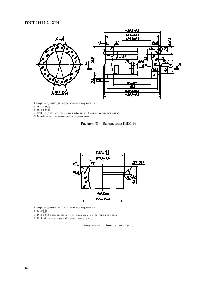
Контролируемые размеры венчика горловины:
0 36.7 1 0.3;
0 36.4 ± 0.3;
0 25,0 1 0.3 должен быть на глубине до 3 мм от торна венчика;
0 24 min — в остальной части горловины.
Рисунок 4S — Венчик типа КПМ-36
Контролируемые размеры венчика горловины:
0 32.8^-J:
0 19,4 1 0.4 должен быть на глубине до 3 им or торна венчика;
0 IS%5 min — в остальной части горловины.
Рисунок 49 — Венчик типа Гуала
16
ГОСТ 10117.2-2001
|
Рисунок 50 |
17
ГОСТ 10117.2-2001
|
IB’aft |
|
WJ f г* |
1 |
|
|
1 лКг |
||
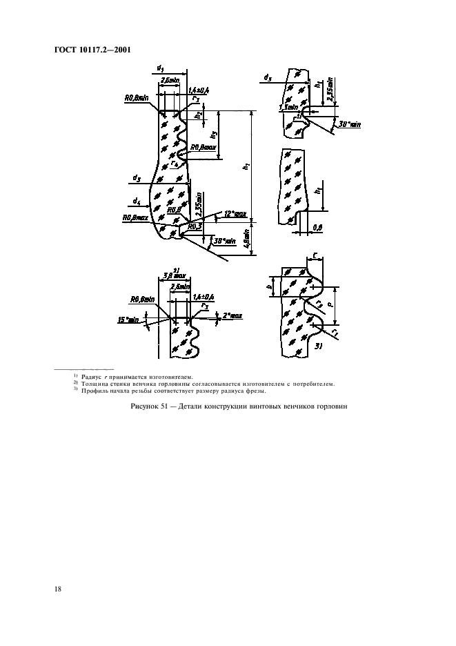
» Радиус г принимается изготовителем.
11 Толщина стенки венчика горловины согласовывается иагагавитслем с потребителем.
3> IIрофиль начала реи.бы соответствует размеру радиуса френы.
Рисунок 51 — Детали конструкции винтовых венчиков горловин
18
|
Таблица 9 — Размеры венчиков горловин иод винтовую укупорку, показанных на рисунках 50, 51 В миллиметра* |
||||||||||||||||||||||||||||||||||||||||||||||||||||||||||||||||||||||||||||||||||||||||||||||||||||||||||||||||||||||||||||||||||||||||||||||||||||||||||||||||||||||||||||||||||||||||||||||||||||||||||||||||||||||||||||||||||||||||||||||||||||||||||||
|
||||||||||||||||||||||||||||||||||||||||||||||||||||||||||||||||||||||||||||||||||||||||||||||||||||||||||||||||||||||||||||||||||||||||||||||||||||||||||||||||||||||||||||||||||||||||||||||||||||||||||||||||||||||||||||||||||||||||||||||||||||||||||||
Форма 7
ГОСТ 10117.2-2001
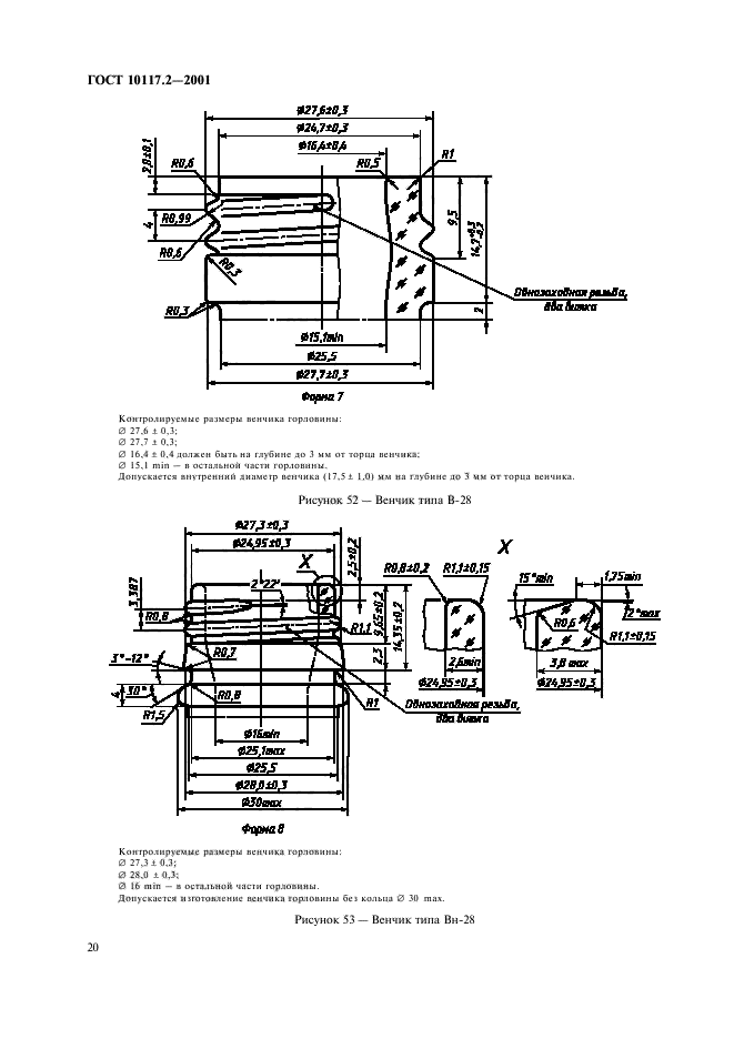
Коиipo.tnpyc.Mue размеры немчика горловины:
0 27.6 1 0.3:
0 27.7 1 0.3;
0 16.4 i 0.4 должен быть на глубине до 3 нм от тории венчика:
0 15,1 min — н остальной части горлонини.
Допускается внутренний диамегр венчика <17.St 1.0) нм на глубине но 3 нм от торна венчика.
Рисунок 52 — Венчик типа В-28
Щ±0Л RW0JS
|
I |
‘А % |
|
S*SJt |
ООтзахаЯиаарёзыВп,
йва&яъго
WEafn
ФЗОанх
Фй/ш8
Контролируемые ратмеры венчика горловины:
0 27,3 1 0,3;
0 2S.0 1 0,3;
0 16 min — в остальной части горловины.
Допускается и s го топление венчика горловины бе» кольца 0 30 шах.
Рисунок 53 — Венчик типа Вн-28
20
|
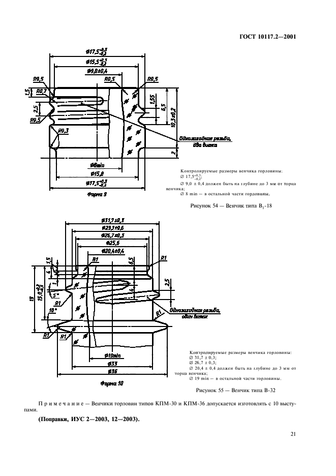
Рисунок 54 — Венчик типа В,-18 |
|
Рисунок 55 — Венчик типа В-32 |
Примечание — Венчики горловин типов КПМ-30 и КПМ-36 допускается изготовлять с 10 выступами.
ГОСТ 10117.2-2001
(Поправки, НУС 2-2003, 12-2003).
2!
ГОСТ 10117.2-2001
4.5 В зависимости от вида укупорки для венчиков горловин применяют следующие условные обозначения:
КН (К) — венчик комбинированный под кроненпробку, алюминиевый колпачок и пробку; КПНв (КП) — венчик высокий под кроненпробку;
КПНн — венчик низкий под кроненпробку;
Ш — венчик под корковую или полиэтиленовую пробку бутылок для шампанских и игристых
вин;
КПШ — венчик комбинированный под кроненпробку, корковую и полиэтиленовую пробки бутылок для шампанских и игристых вин;
Л — венчик под алюминиевый колпачок;
ВКГ1 — венчик комбинированный пол укупорку винтовым колпачком;
ВГ1 — венчик под укупорку винтовым колпачком;
П-26 — венчик под пробку;
Г1-27 — венчик под пробку;
П-28 — венчик под пробку;
П-29-Л — венчик иод пробку;
П-29-Б — венчик под пробку;
Г1-30 — веичик под пробку;
Г1-32 — венчик под пробку;
Г1Р-32 — венчик под пробку:
КМ М-30 — венчик под кроненпробку модернизированный;
КМ М-32 — венчик под кроненпробку модернизированный;
КМ М-36 — венчик под кроненпробку модернизированный;
Гуала — венчик под укупорку полиэтиленовым колпачком;
В — венчики горловин под винтовую укупорку.
В зависимости от конструкции и размеров условное обозначение типа венчика горювииы под винтовую укупорку должно состоять из условного обозначения В, номера венчика горловины, номера формы конструкции венчика.
Например: В-28-1.
Контролируемые размеры венчиков горловин указаны на рисунках 28—55 и в таблице 9. Остальные размеры даны для изготовления формокомплектов.
4.6 Диаметр укупорочного кольца венчика горловины типов КН (К), КПНв (КП), КПн. КПМ-30, КПМ-32, КПМ-36, Л, наружный диаметр резьбы венчиков под винтовую укупорку и внутренний диаметр венчиков под пробку относят к обязательным требованиям.
4.7 Условное обозначение бутылок при заказе должно содержать: обозначение типа бутылки, обозначение типа венчика горловины, номинатьную вместимость бутылки, обозначение настоящего стандарта.
Пример условного обозначения бутылки типа 1 с комбинированным венчиком горловины номинальной вместимостью 700 см1;
Бутшка типа I-K-700 ГОСТ Ю117.2-2001
Пример условного обозначения бутылки типа XXI с венчиком В-28-1 под вшгтовую укупорку:
Бутшка типа XXI-В-28-1-500 ГОСТ 10! 17.2-2001
4.8 При разработке новых типов бутылок предельные отклонения по высоте бутылок Т„ рекомендуется рассчитывать по формуле
ТИ — ± (0.6 + 0,004 11), (1)
где 11 — номинальный размер общей высоты бутылки,мм.
Предельные отклонения по диаметру круглых бутылок Tlt — по формуле
TD ~ ± (0,5 + 0.012 D), (2)
где D— номинальный размер диаметра корпуса бутылки.мм.
4.9 При разработке новых типов бутылок номинатьную вместимость рекомендуется выбирать из ряда вместимостей;
ГОСТ 10117.2-2001
15, 30. >11. 75, Ж- 110,




















